授权公布号:CN216894050U
一种推拉门
有效
申请
2021-12-28
申请公布
1970-01-01
授权
2022-07-05
预估到期
2031-12-28
| 申请号 | CN202123362927.4 |
| 申请日 | 2021-12-28 |
| 授权公布号 | CN216894050U |
| 授权公告日 | 2022-07-05 |
| 分类号 | E06B3/46;E06B3/72;E06B3/263;E05F5/06;E06B7/16 |
| 分类 | 一般门、窗、百叶窗或卷辊遮帘;梯子; |
| 申请人名称 | 广东亿合门窗科技有限公司 |
| 申请人地址 | 广东省佛山市南海区狮山镇长虹岭工业园二期民虹路2号 |
专利法律状态
2022-07-05
授权
状态信息
授权
摘要
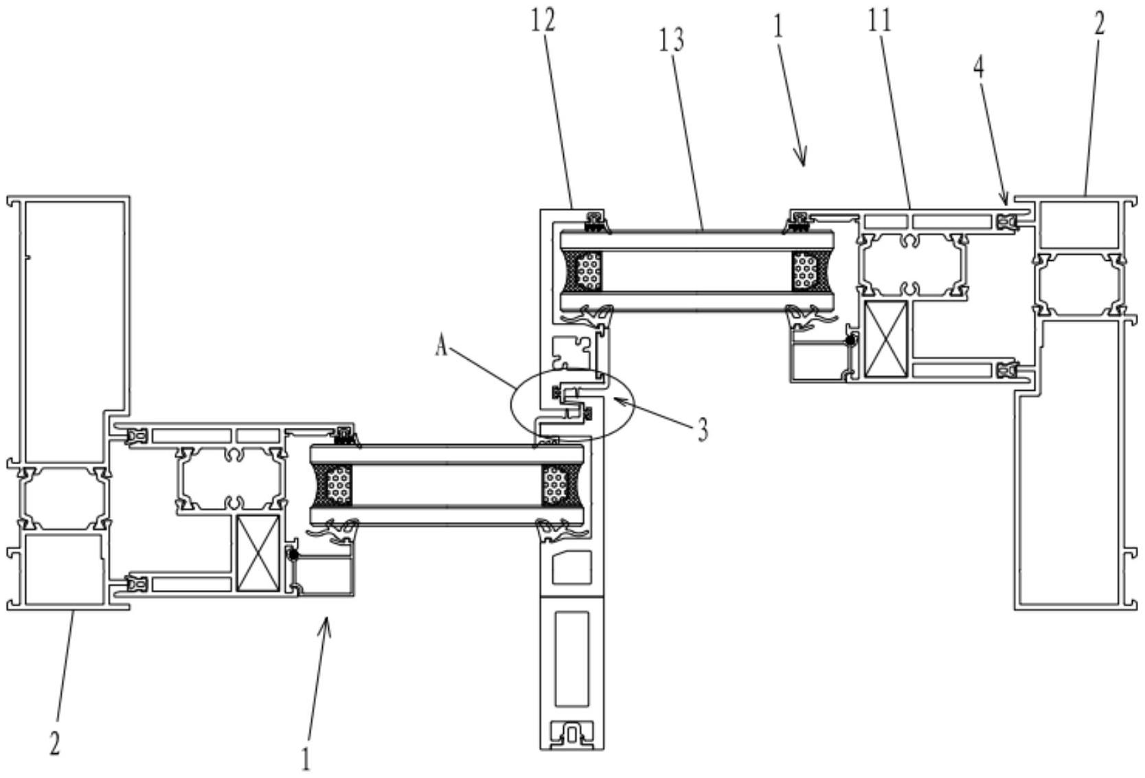
本实用新型公开了一种推拉门,包括扇框与边框,扇框包括第一框体、第二框体与玻璃板,玻璃板的一侧连接有第一框体,玻璃板的另一侧连接有第二框体,第一框体为组合式结构框体,第二框体为一体式结构框体,第一框体需要与边框配合,设置成组合式结构以满足强度需求,第二框体设置成一体式结构,能够具有较窄或较小的尺寸,能够提高扇框的美观性,也利于节约成本,可知,组合式第一框体与一体式第二框体的配搭使得扇框的兼备强度、隔热性能与美观性,使得扇框更小型,减少空间的占用,也节约成本。


