授权公布号:CN110155527B
一种钢管存放架
有效
申请
2019-05-14
申请公布
2019-08-23
授权
2021-11-09
预估到期
2039-05-14
| 申请号 | CN201910398206.7 |
| 申请日 | 2019-05-14 |
| 申请公布号 | CN110155527A |
| 申请公布日 | 2019-08-23 |
| 授权公布号 | CN110155527B |
| 授权公告日 | 2021-11-09 |
| 分类号 | B65D85/20;B25H3/04 |
| 分类 | 输送;包装;贮存;搬运薄的或细丝状材料; |
| 申请人名称 | 安徽管益生新材料科技有限公司 |
| 申请人地址 | 安徽省合肥市庐江县高新技术开发区苏河路158号 |
专利法律状态
2023-11-17
专利申请权、专利权的转移
状态信息
专利权的转移;IPC(主分类):B65D 85/20;专利号:ZL2019103982067;登记生效日:20231101;变更事项:专利权人;变更前权利人:安徽管益生新材料科技有限公司;变更后权利人:合肥管益生不锈钢管道有限公司;变更事项:地址;变更前权利人:231100 安徽省合肥市长丰双凤经济开发区凤锦路东侧2幢;变更后权利人:230000 安徽省合肥市庐江县高新技术开发区苏河路158号
2021-11-09
授权
状态信息
授权
2019-09-17
实质审查的生效
状态信息
实质审查的生效;IPC(主分类):B65D85/20;申请日:20190514
2019-08-23
公布
状态信息
公布
摘要
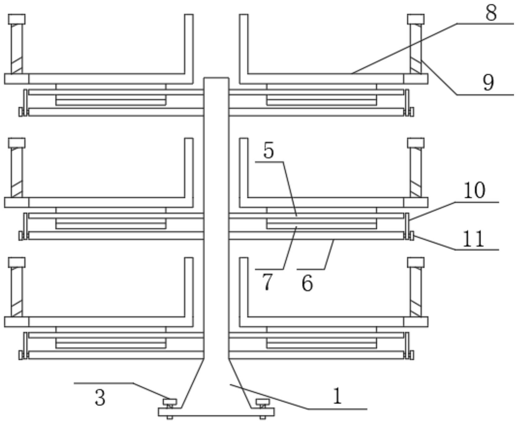
本发明涉及存放设备技术领域,尤其涉及一种钢管存放架,所述承重杆共有两个,所述承重杆下端开设的贯穿孔中活动插接有第一螺钉,两个所述承重杆之间通过横杆连接,所述承重杆的侧壁上连接有主支撑板和定位板,主支撑板位于定位板的上方,所述主支撑板和定位板之间插接有L型滑动板的横向段,所述L型滑动板竖向段的上端连接有L型承重板,所述L型承重板横向段的一端连接有挡管装置,利用第一螺钉与地面预埋的螺母连接,承重杆的位置被固定,在放置钢管时将L型承重板和挡管装置拉出,放置完毕后将L型承重板和挡管装置推进,并利用第二螺钉进行位置的固定,方便下层钢管的堆放和拿取。


