授权公布号:CN212023863U
一种无轴螺旋输送机
有效
申请
2020-01-09
申请公布
1970-01-01
授权
2020-11-27
预估到期
2030-01-09
| 申请号 | CN202020048594.4 |
| 申请日 | 2020-01-09 |
| 授权公布号 | CN212023863U |
| 授权公告日 | 2020-11-27 |
| 分类号 | B65G33/24 |
| 分类 | 输送;包装;贮存;搬运薄的或细丝状材料; |
| 申请人名称 | 南京蓝宝石环保设备有限公司 |
| 申请人地址 | 江苏省南京市六合区雄州镇高余村谢家湾13号 |
专利法律状态
2020-11-27
授权
状态信息
授权
摘要
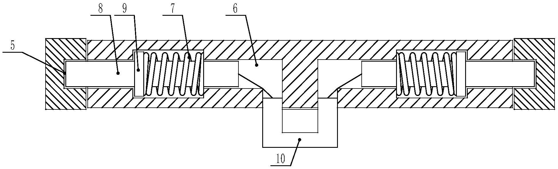
本实用新型涉及一种无轴螺旋输送机,包括主机体,主机体的顶端安装有盖板,盖板的两侧固定连接盖板安装条,主机体的两侧顶端设有卡接座,每组卡接座与盖板安装条相匹配,每组卡接座相对的一侧开设有卡接孔,盖板安装条内开设有调节槽,每个盖板安装条内设置两个调节槽且相对设置,调节槽内安装有弹簧,弹簧内安装有卡接柱,卡接柱上安装有限位板。本实用新型的有益效果是:安装盖板时,先向外拉动把手,把手通过链条拉动卡接柱,卡接柱在调节槽中滑动,之后将盖板安装条安装在卡接座中,调节槽与卡接孔对齐,之后放松把手就可以使卡接柱进入卡接孔中,使盖板与主机体连接。


