授权公布号:CN214916766U
一种潜水式粉碎栅除污机
有效
申请
2021-03-26
申请公布
1970-01-01
授权
2021-11-30
预估到期
2031-03-26
| 申请号 | CN202120613635.4 |
| 申请日 | 2021-03-26 |
| 授权公布号 | CN214916766U |
| 授权公告日 | 2021-11-30 |
| 分类号 | B02C18/14;B02C18/16;B01D29/54 |
| 分类 | 破碎、磨粉或粉碎;谷物碾磨的预处理; |
| 申请人名称 | 南京蓝宝石环保设备有限公司 |
| 申请人地址 | 江苏省南京市六合区龙池街道新集东路1183号9#-2栋 |
专利法律状态
2021-11-30
授权
状态信息
授权
摘要
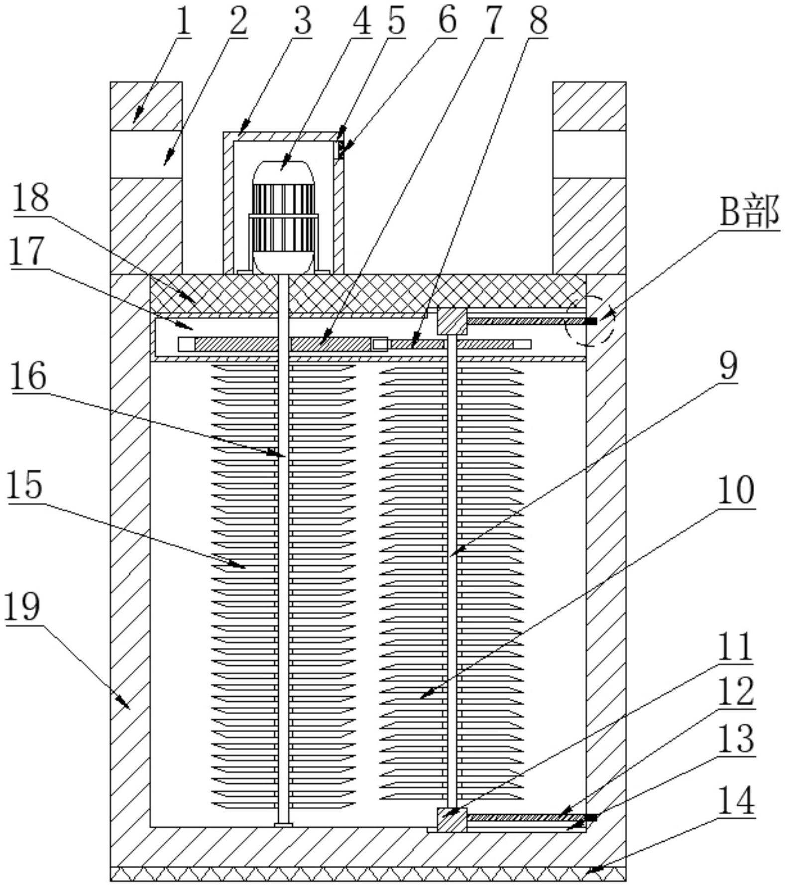
一种潜水式粉碎栅除污机,本实用新型涉及环保设备技术领域;箱体为前后开口式结构设置;位于箱体上侧的左右两侧壁之间固定连接有传动层,传动层的上侧壁上固定连接有支撑板,支撑板的左右两侧面分别固定连接于箱体的左右内侧壁上;支撑板的上侧壁上固定设置有电机箱,电机箱的前侧壁上固定连接有电控箱,电机箱内设置有电机,电机固定连接于支撑板的上侧壁上;电机的输出端先后穿过支撑板和传动层后,固定连接有主动轴,主动轴的下端通过轴承旋转连接于箱体的内底壁上,位于传动层下侧的主动轴的周壁上套设固定有数个左切割刀片;能够将固体物体切割成细小颗粒,方便污水处理,提高效率,优化污水处理效果。


