授权公布号:CN217529391U
一种汽车外板剪板机专用接样装置
有效
申请
2022-05-17
申请公布
1970-01-01
授权
2022-10-04
预估到期
2032-05-17
| 申请号 | CN202221196177.X |
| 申请日 | 2022-05-17 |
| 授权公布号 | CN217529391U |
| 授权公告日 | 2022-10-04 |
| 分类号 | B23D15/06;B23D33/02 |
| 分类 | 机床;不包含在其他类目中的金属加工; |
| 申请人名称 | 华菱安赛乐米塔尔汽车板有限公司 |
| 申请人地址 | 湖南省娄底市娄底经济开发区吉星北路88号 |
专利法律状态
2022-10-04
授权
状态信息
授权
摘要
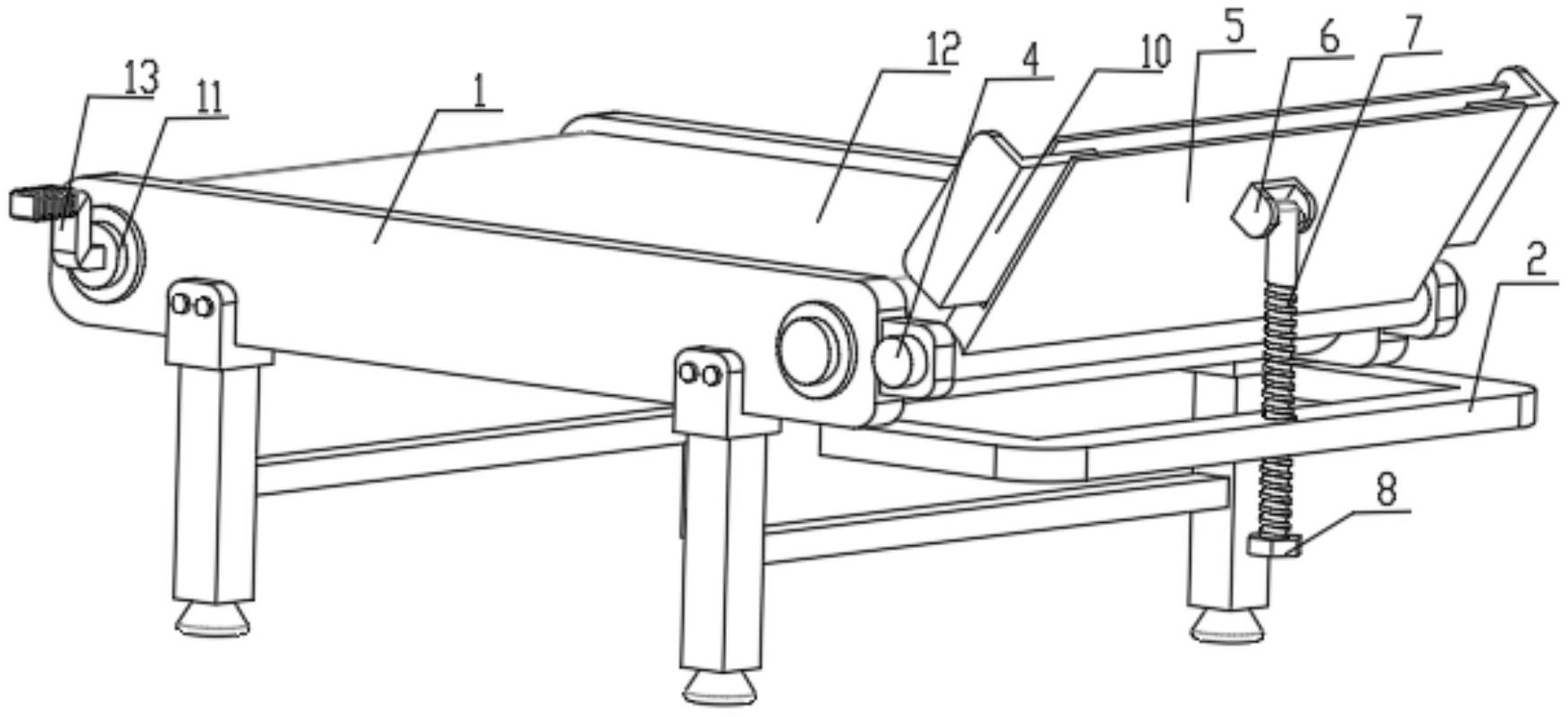
本实用新型公开了一种汽车外板剪板机专用接样装置,包括平行排布的两个承载条板,承载条板一侧设置有引导机构,引导机构上设置有阻挡机构;引导机构包括承载架、承载块、承载杆、导料板、调整基座、螺杆以及转盘,承载架顶面与两个承载条板一侧底面固定连接,承载块共设有两个并分别固定设置在两个承载条板临近承载架的一侧,承载杆活动设置在两个承载块之间,导料板一端与承载杆外周面固定连接并位于两个承载块的内侧,调整基座固定设置在导料板临近承载架的一侧;阻挡机构包括滑块以及挡板,导料板远离承载杆的一端开设有安装槽,安装槽临近承载杆的一侧槽壁上开设有滑槽。本实用新型下料接样灵活稳定,防护效果好。


