授权公布号:CN207509398U
压贴复合生产线
有效
申请
2017-12-02
申请公布
1970-01-01
授权
2018-06-19
预估到期
2027-12-02
| 申请号 | CN201721654469.2 |
| 申请日 | 2017-12-02 |
| 授权公布号 | CN207509398U |
| 授权公告日 | 2018-06-19 |
| 分类号 | B27D1/08;B27D5/00;B32B37/06;B32B37/10;B32B37/12;B32B38/00 |
| 分类 | 木材或类似材料的加工或保存;一般钉钉机或钉U形钉机; |
| 申请人名称 | 福建华宇集团有限公司 |
| 申请人地址 | 福建省南平市建瓯市东峰镇莲花坪工业园区 |
专利法律状态
2018-06-19
授权
状态信息
授权
摘要
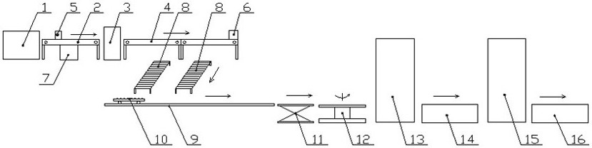
本实用新型涉及压贴复合生产线,包括依次设置的板材逐片送料机、第一输送带、涂胶机和第二输送带,第二输送带的末端设置有用于板材检测机构,板材检测机构接入电控装置,电控装置控制板材逐片进料机构、第一输送带、涂胶机和第二输送带的运行和停止;第二输送带的旁侧设置有辊式输送机,辊式输送机末端旁侧纵向设置有导轨,导轨上设置有运送小车,导轨的终点处设置有升降台,升降台的载物平面上安装有横向辊件,升降台的旁侧设置有旋转台,旋转台的载物平面上安装有万向滚球或纵横向交错的辊件;旋转台的旁侧依次设置有冷压机、输送机构和热压机。本实用新型解决了人工逐片进料劳动强度大、人工成本高以及进料和后续贴面速度不匹配而造成出料输送带上板材堆积、重叠或滑落问题。


