授权公布号:CN209846485U
一种智能互动衣柜
有效
申请
2019-02-26
申请公布
1970-01-01
授权
2019-12-27
预估到期
2029-02-26
| 申请号 | CN201920245225.1 |
| 申请日 | 2019-02-26 |
| 授权公布号 | CN209846485U |
| 授权公告日 | 2019-12-27 |
| 分类号 | A47B61/00;A47B97/00;G10L15/22 |
| 分类 | 家具;家庭用的物品或设备;咖啡磨;香料磨;一般吸尘器; |
| 申请人名称 | 江苏佰丽爱家家居科技有限公司 |
| 申请人地址 | 江苏省无锡市新吴区群兴路22号 |
专利法律状态
2023-09-01
专利权质押合同登记的生效、变更及注销
状态信息
专利权质押合同登记的生效;IPC(主分类):A47B 61/00;专利号:ZL2019202452251;登记号:Y2023980051983;登记生效日:20230815;出质人:江苏佰丽爱家家居科技有限公司;质权人:中国建设银行股份有限公司无锡锡山支行;实用新型名称:一种智能互动衣柜;申请日:20190226;授权公告日:20191227
2019-12-27
授权
状态信息
授权
摘要
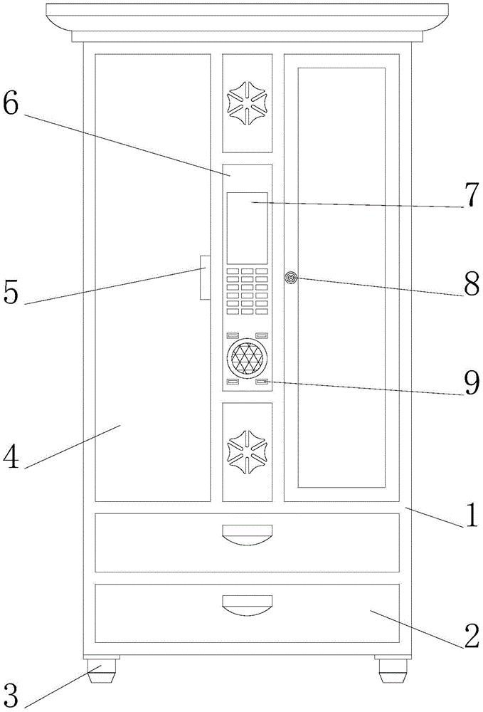
本实用新型公开了属于家具技术领域的一种智能互动衣柜,包括衣柜,所述衣柜下表面固定有支撑脚,所述衣柜前表面两侧转动连接有柜门,所述衣柜前表面上方中间位置处固定有操作板,所述操作板前表面上方固定有操作屏,所述衣柜前表面一侧靠近把手后方固定有压力感应器;通过指令条、语音转换器和麦克风的设置,使老年人在进行智能衣柜的操作时,可根据指令条上的文字提示,通过语音将指令从麦克风输入经语音转换器转换成机器指令后传递至操作屏进行对应指令的操作,便于老年人对智能衣柜的使用,通过显示屏、摄像头和灯珠的设置,使用户需进行衣物的查找时,可通过指令的输入使灯珠亮起进行内部空间的照明。


