授权公布号:CN206653437U
气动切条机
有效
申请
2017-03-23
申请公布
1970-01-01
授权
2017-11-21
预估到期
2027-03-23
| 申请号 | CN201720292345.8 |
| 申请日 | 2017-03-23 |
| 授权公布号 | CN206653437U |
| 授权公告日 | 2017-11-21 |
| 分类号 | B26D1/553;B26D7/06 |
| 分类 | 手动切割工具;切割;切断; |
| 申请人名称 | 北京天安农业发展有限公司 |
| 申请人地址 | 北京市昌平区小汤山镇大柳树环岛南500米 |
专利法律状态
2017-11-21
授权
状态信息
授权
摘要
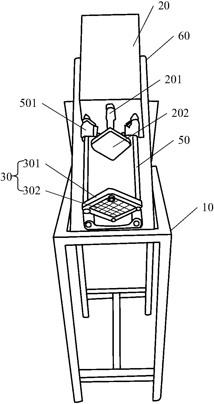
本实用新型公开了一种气动切条机,包括:支架;气缸,其通过支撑杆倾斜设置在支架上;网格刀盘,其设置在支架上,且网格刀盘设置在气缸的活塞的行程末端,网格刀盘的切割面与气缸的活塞的行程方向相互垂直设置;以及用于承载作业对象的限位板,其为一上端面光滑的板体结构,且限位板设置在气缸与网格刀盘之间,限位板位于气缸的活塞的行程的正下方。本实用新型能够将形状不规则的作业对象托举固定在限位板上,加强物料的稳定性,不需要二次摆放,能够保证切条作业的连续进行,有效提高了气动切条机的工作效率,单位时间人均加工量可从原有60—70公斤/小时提高到150—180公斤/小时,对加工生产起到了重要的作用。


