授权公布号:CN209294906U
射灯
有效
申请
2019-01-12
申请公布
1970-01-01
授权
2019-08-23
预估到期
2029-01-12
| 申请号 | CN201920053855.9 |
| 申请日 | 2019-01-12 |
| 授权公布号 | CN209294906U |
| 授权公告日 | 2019-08-23 |
| 分类号 | F21S8/00;F21V21/26;F21V21/22;F21V21/30;F21V21/34 |
| 分类 | 照明; |
| 申请人名称 | 中山市聚美灯饰照明有限公司 |
| 申请人地址 | 广东省中山市横栏镇茂辉工业区(三沙)乐丰六路36号二楼 |
专利法律状态
2019-08-23
授权
状态信息
授权
摘要
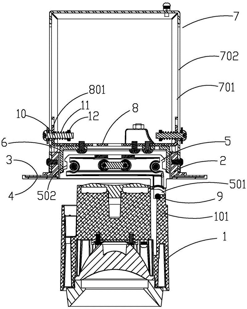
本实用新型涉及一种射灯,包括照明部和安装部,照明部包括灯体,安装部包括安装支架、设于安装支架外围的内圈和面环、设于安装支架内的灯杆和内环、以及设于安装支架顶部的滑轨架和滑动支架;灯体活动轴接于灯杆,灯杆水平旋转地连接于内环,内环固定连接于滑动支架,滑动支架设于安装支架的架口内且滑接于滑轨架,滑轨架固定于安装支架的顶部。本实用新型既可调节灯体部的俯仰角度,又可调节灯体部高度,还可调节灯体部水平角度,使用更加方便。


