授权公布号:CN216084565U
电感器、线圈组件及制造电感器的装置
有效
申请
2021-09-17
申请公布
1970-01-01
授权
2022-03-18
预估到期
2031-09-17
| 申请号 | CN202122267481.0 |
| 申请日 | 2021-09-17 |
| 授权公布号 | CN216084565U |
| 授权公告日 | 2022-03-18 |
| 分类号 | H01F27/30;H01F41/096;H01F41/06 |
| 分类 | 基本电气元件; |
| 申请人名称 | 山特电子(深圳)有限公司 |
| 申请人地址 | 广东省深圳市宝安区72区宝石路8号 |
专利法律状态
2022-03-18
授权
状态信息
授权
摘要
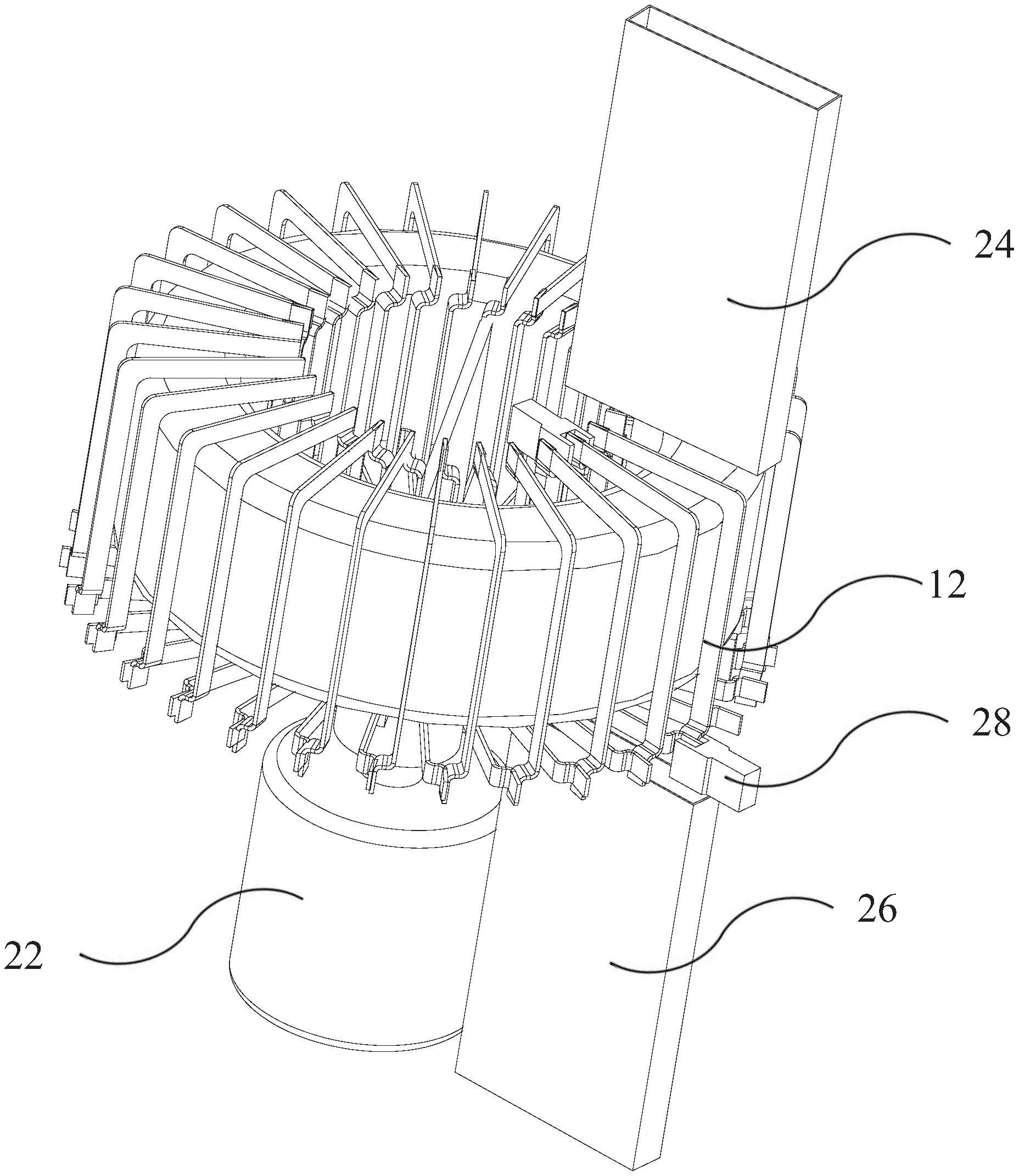
本实用新型涉及一种电感器、线圈组件及制造电感器的装置,其中该电感器包括磁芯;线圈组件,其包括相向拼合从而形成多匝线圈并将磁芯围在内部的第一构件组和第二构件组,第一构件组包括沿一中心均匀分布的多个第一构件,第二构件组包括与多个第一构件依次间隔地沿同一中心以相同方式均匀分布的多个第二构件,至少每个第一构件的起始端具有向前一间隔位置的第二构件的末端靠近的偏折部,从而分别与相应第二构件相接形成一匝线圈,至少每个第一构件末端具有向后一间隔位置的第二构件的起始端靠近的偏折部,从而使相邻匝的线圈依次相接。该电感器通过采用拼接式线圈使线圈及其与磁芯的装配更易机械化,从而提供高装配效率并具有低线圈电阻和电损耗。


