授权公布号:CN206824621U
制动盘铸件模具及其制造装置
有效
申请
2017-06-16
申请公布
1970-01-01
授权
2018-01-02
预估到期
2027-06-16
| 申请号 | CN201720710335.1 |
| 申请日 | 2017-06-16 |
| 授权公布号 | CN206824621U |
| 授权公告日 | 2018-01-02 |
| 分类号 | B22C9/22;B22C9/20;B22C9/02 |
| 分类 | 铸造;粉末冶金; |
| 申请人名称 | 布雷博(南京)制动系统有限公司 |
| 申请人地址 | 江苏省南京市江宁经济技术开发区西京路28号 |
专利法律状态
2018-01-02
授权
状态信息
授权
摘要
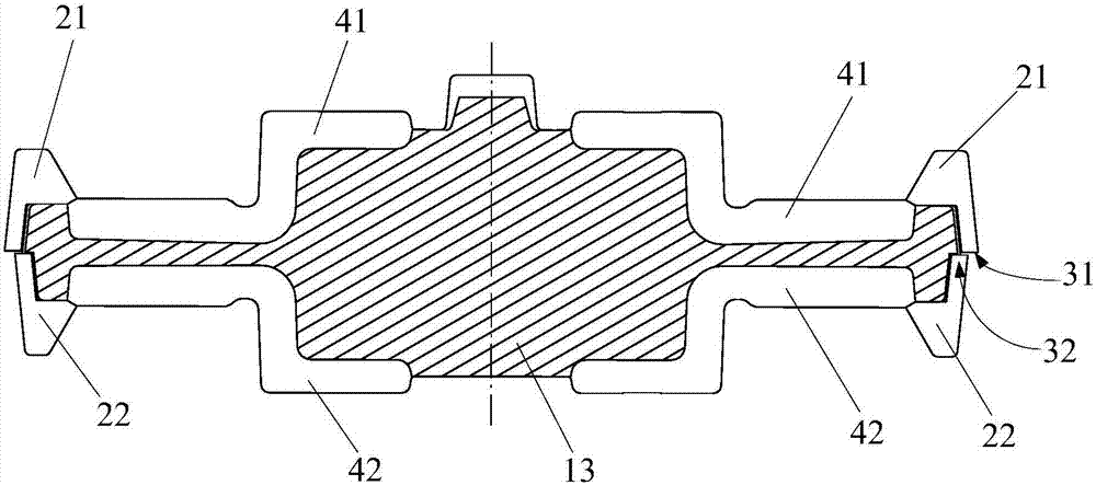
本实用新型提供了一种制动盘铸件模具及其制造装置,涉及制动盘铸件工艺技术领域,为解决现有技术中的制动盘生产效率较低且砂铁比较高的问题。所述制动盘铸件模具包括:上砂型、下砂型和砂芯,所述砂芯位于所述上砂型和所述下砂型之间,所述上砂型与所述砂芯之间形成第一制动盘型腔,所述下砂型与所述砂芯之间形成第二制动盘型腔;所述上砂型上设置有与所述第一制动盘型腔连通的第一开口,所述下砂型上设置有与所述第二制动盘型腔连通的第二开口。所述制动盘铸件模具用于铸造制动盘,同时可铸造两个制动盘,生产效率高,砂铁比较低。


