授权公布号:CN206832450U
调隙机构拨齿装置及调隙机构试验设备
有效
申请
2017-06-16
申请公布
1970-01-01
授权
2018-01-02
预估到期
2027-06-16
| 申请号 | CN201720710255.6 |
| 申请日 | 2017-06-16 |
| 授权公布号 | CN206832450U |
| 授权公告日 | 2018-01-02 |
| 分类号 | G01M13/00 |
| 分类 | 测量;测试; |
| 申请人名称 | 布雷博(南京)制动系统有限公司 |
| 申请人地址 | 江苏省南京市江宁经济技术开发区西京路28号 |
专利法律状态
2018-01-02
授权
状态信息
授权
摘要
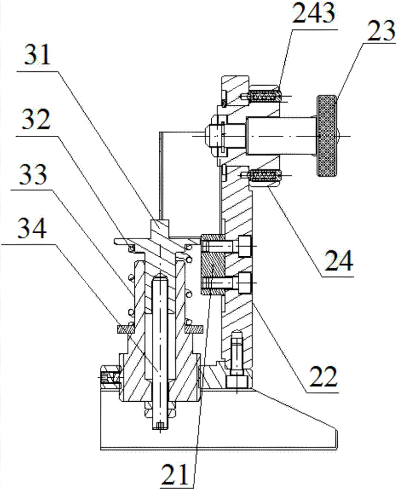
本实用新型提供了一种调隙机构拨齿装置及调隙机构试验设备,涉及试验装置的技术领域,该调隙机构拨齿装置包括用于固定调隙机构的固定座和用于支承调隙机构的支承组件;固定座与调隙机构的底座固定连接;支承组件包括支撑件和弹性复位件,支撑件用于支撑调隙机构一端的调隙螺栓,并对调隙螺栓进行周向限位;弹性复位件设置于固定座与支撑件之间,用于带动支撑件复位。该调隙机构试验设备包括上述内容所述的调隙机构拨齿装置。该调隙机构拨齿装置及该调隙机构试验设备解决了现有技术中依靠人工对调隙机构进行检测,检测的效率比较低的技术问题。


