授权公布号:CN206824673U
减震结构及制动盘车削装置
有效
申请
2017-06-16
申请公布
1970-01-01
授权
2018-01-02
预估到期
2027-06-16
| 申请号 | CN201720710061.6 |
| 申请日 | 2017-06-16 |
| 授权公布号 | CN206824673U |
| 授权公告日 | 2018-01-02 |
| 分类号 | B23B25/00;B23Q11/00 |
| 分类 | 机床;不包含在其他类目中的金属加工; |
| 申请人名称 | 布雷博(南京)制动系统有限公司 |
| 申请人地址 | 江苏省南京市江宁经济技术开发区西京路28号 |
专利法律状态
2018-01-02
授权
状态信息
授权
摘要
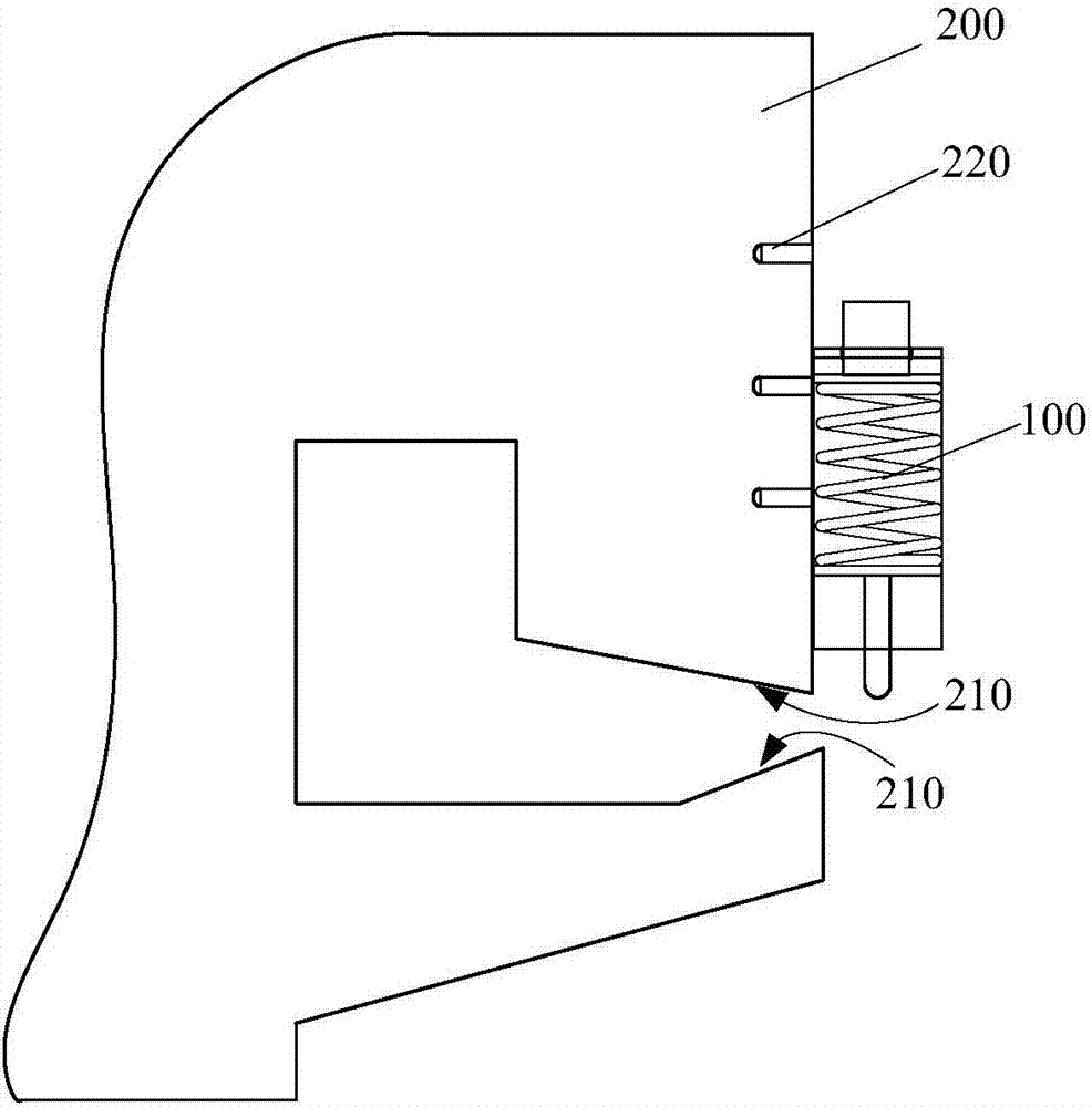
本实用新型提供了一种减震结构及制动盘车削装置,涉及制动盘表面加工技术领域,为解决制动盘的表面加工质量较差的问题。所述减震结构包括:车刀连接件、缓冲组件和制动盘接触件,所述缓冲组件与所述车刀连接件相连,所述缓冲组件包括弹性件,所述制动盘接触件与所述弹性件接触,所述制动盘接触件的一端用于与制动盘的待车削面接触。所述减震结构应用于制动盘车削装置上,用于减轻制动盘的震动,提高制动盘的表面加工质量。


