授权公布号:CN112691933B
一种用于眼罩内托加工的筛选设备、眼罩加工方法
有效
申请
2020-12-08
申请公布
2021-04-23
授权
2022-10-04
预估到期
2040-12-08
| 申请号 | CN202011420410.3 |
| 申请日 | 2020-12-08 |
| 申请公布号 | CN112691933A |
| 申请公布日 | 2021-04-23 |
| 授权公布号 | CN112691933B |
| 授权公告日 | 2022-10-04 |
| 分类号 | B07C5/24;B07C5/38;B07C5/36;B07C5/02 |
| 分类 | 将固体从固体中分离;分选; |
| 申请人名称 | 广州邦士度眼镜有限公司 |
| 申请人地址 | 广东省广州市花都区花山镇花都大道东自编5号之一(可作厂房使用) |
专利法律状态
2022-10-04
授权
状态信息
授权
2021-04-23
公布
状态信息
公布
摘要
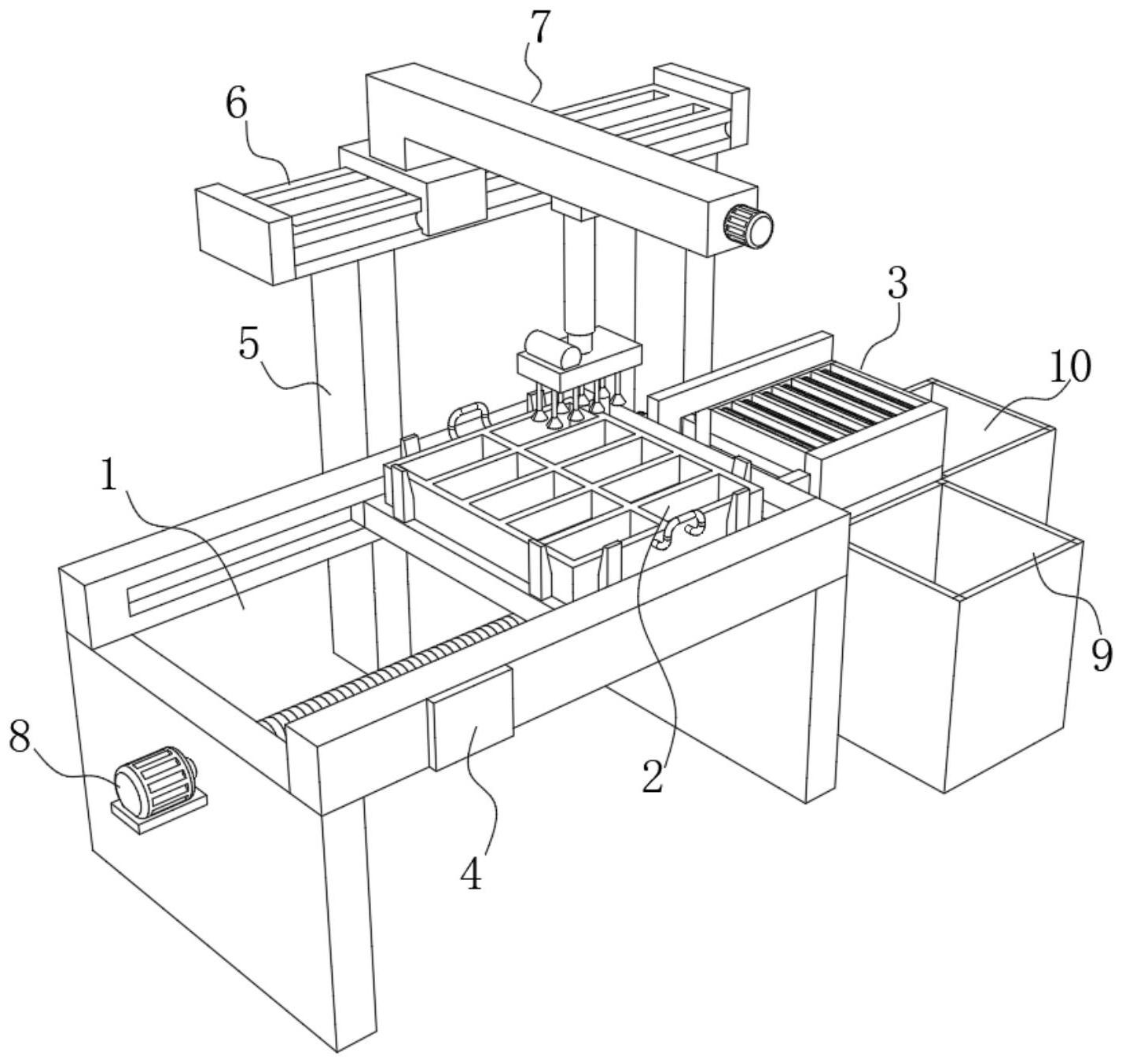
本发明公开了一种用于眼罩内托加工的筛选设备、眼罩加工方法,涉及眼罩内托加工技术领域。本发明包括码放组件、放置板和剔除组件,放置板上表面开设有若干放置槽,两立柱的顶端固定安装有电动滑轨,电动滑轨滑动配合有滑座,滑座上表面固定安装有转移组件,码放组件包括第二丝杆、移除板、两支撑板和两侧板,两侧板之间固定有连接板,两支撑板之间转动连接有第一丝杆,剔除组件包括底板和称重板,底板上表面固定有两横板。本发明通过设置码放组件、转移组件、放置板、剔除组件和移除板,可实现对眼罩内托的持续快速地转移,代替了人工逐个将眼罩内托放置在转移组件上,极大地节约了眼罩内托转移时间,并实现对眼罩内托的快速筛选。


