授权公布号:CN217492732U
一种数控立式车床自动更换刀夹结构
有效
申请
2022-06-28
申请公布
1970-01-01
授权
2022-09-27
预估到期
2032-06-28
| 申请号 | CN202221653147.7 |
| 申请日 | 2022-06-28 |
| 授权公布号 | CN217492732U |
| 授权公告日 | 2022-09-27 |
| 分类号 | B23B29/00 |
| 分类 | 机床;不包含在其他类目中的金属加工; |
| 申请人名称 | 通用技术齐齐哈尔二机床有限责任公司 |
| 申请人地址 | 黑龙江省齐齐哈尔市永安大街371号 |
专利法律状态
2022-09-27
授权
状态信息
授权
摘要
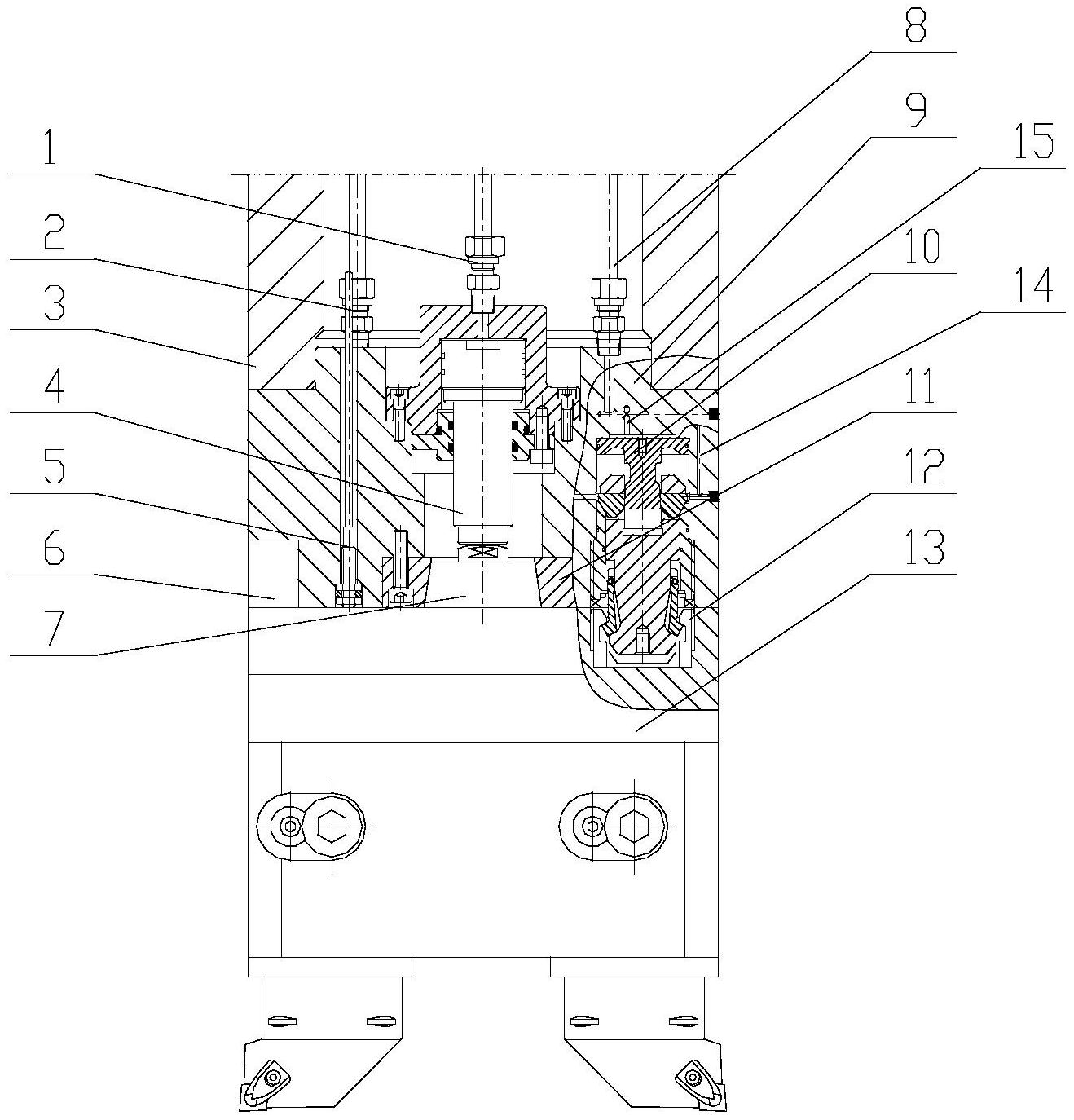
本实用新型涉及一种数控立式车床自动更换刀夹结构。主要解决现有的自动更换刀夹结构定位精度不高、稳定性差的问题。所述连接体(9)与刀夹(13)之间通过若干个液压拉爪相连,所述液压拉爪包括压盖(12)和爪瓣(10),其中压盖(12)连接在刀夹(13)上,爪瓣(10)连接在连接体(9)上。该数控立式车床自动更换刀夹结构定位精度高、稳定性好,保证了换刀的安全性。


