授权公布号:CN212572457U
高精度数控卧式坐标镗伺服电机温度主动控制装置
有效
申请
2020-07-22
申请公布
1970-01-01
授权
2021-02-19
预估到期
2030-07-22
| 申请号 | CN202021527323.3 |
| 申请日 | 2020-07-22 |
| 授权公布号 | CN212572457U |
| 授权公告日 | 2021-02-19 |
| 分类号 | H02P29/60; |
| 分类 | 发电、变电或配电; |
| 申请人名称 | 沈机集团昆明机床股份有限公司 |
| 申请人地址 | 云南省昆明市盘龙区茨坝路23号 |
专利法律状态
2023-08-18
专利权人的姓名或者名称、地址的变更
状态信息
专利权人的姓名或者名称、地址的变更;IPC(主分类):H02P 29/60;专利号:ZL2020215273233;变更事项:专利权人;变更前:沈机集团昆明机床股份有限公司;变更后:通用技术集团昆明机床股份有限公司;变更事项:地址;变更前:650203 云南省昆明市盘龙区茨坝路23号;变更后:650203 云南省昆明市盘龙区茨坝路23号
2021-02-19
授权
状态信息
授权
摘要
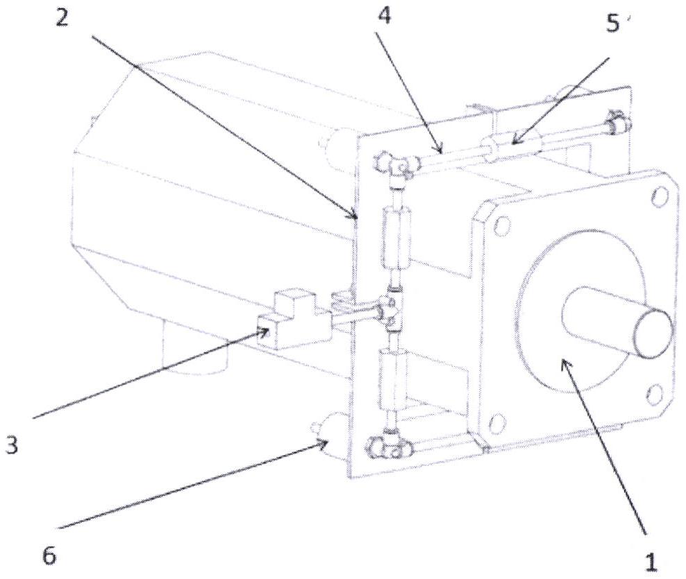
高精度数控卧式坐标镗伺服电机温度主动控制装置,包括伺服电机本体,伺服电机本体外侧设置有可调节式安装支架,可调节式安装支架上设置有控制比例阀,控制比例阀设置在冷却气路总出口处,控制比例阀后部连接环形气路,用于形成冗余式冷却管路,所述的可调节式安装支架上设置有可调试吹气口,方向可调试吹气口的后端连接气体流量监测元件,气体流量监测元件用于检测各冷却口实际气流量,气体流量监测元件通过管道连接至总环形气路,冷却气流通过控制比例阀输出至环形气路,所述的方向可调试吹气口对伺服电机本体进行覆盖式冷却。


