授权公布号:CN216326497U
一种力矩电机驱动的摆动转台
有效
申请
2021-12-17
申请公布
1970-01-01
授权
2022-04-19
预估到期
2031-12-17
| 申请号 | CN202123182940.1 |
| 申请日 | 2021-12-17 |
| 授权公布号 | CN216326497U |
| 授权公告日 | 2022-04-19 |
| 分类号 | B23Q1/26;B23Q1/00;B23Q1/64 |
| 分类 | 机床;不包含在其他类目中的金属加工; |
| 申请人名称 | 四川普什宁江机床有限公司 |
| 申请人地址 | 四川省成都市都江堰市四川省都江堰经济开发区天府大道 |
专利法律状态
2022-04-19
授权
状态信息
授权
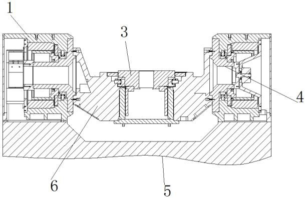
摘要
一种力矩电机驱动的摆动转台,它包括摆动座,所述摆动座的两端设置有支座,所述支座上设置有摆动轴和摆动轴电机;所述摆动轴水平设置,摆动轴的一端与摆动座的一端相连,所述摆动轴电机与摆动轴相连,所述摆动轴电机用于带动摆动轴转动,使摆动座绕支座摆动;所述摆动座顶部竖直设置有回转轴,所述回转轴下端伸入摆动座内与摆动座内的回转轴电机相连;所述摆动轴电机和回转轴电机为力矩电机。该摆动转台结构更简单、紧凑,便于安装。


