授权公布号:CN218611715U
凸轮式纵切自动车床立刀架进刀装置
有效
申请
2022-09-15
申请公布
1970-01-01
授权
2023-03-14
预估到期
2032-09-15
| 申请号 | CN202222441719.1 |
| 申请日 | 2022-09-15 |
| 授权公布号 | CN218611715U |
| 授权公告日 | 2023-03-14 |
| 分类号 | B23B21/00;B23B23/00;B23Q5/22 |
| 分类 | 机床;不包含在其他类目中的金属加工; |
| 申请人名称 | 四川普什宁江机床有限公司 |
| 申请人地址 | 四川省成都市都江堰市四川省都江堰经济开发区天府大道 |
专利法律状态
2023-03-14
授权
状态信息
授权
摘要
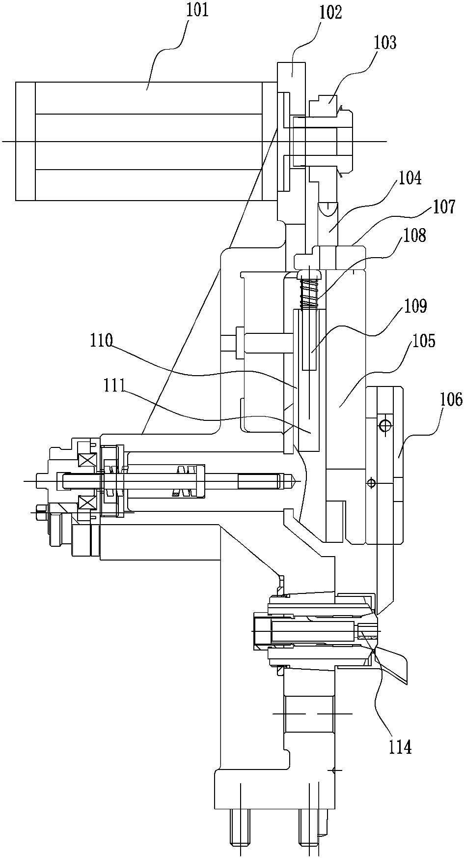
本实用新型公开了凸轮式纵切自动车床立刀架进刀装置,包括立刀架体和传动机构,立刀架体上安装有夹持工件的夹持部,传动机构包括伺服电机、凸轮、立刀架和弹性复位机构,伺服电机安装在立刀架体上,伺服电机的动力输出端安装有凸轮,立刀架通过弹性复位机构安装在立刀架体上,立刀架的另一端安装有夹持刀具的夹头,凸轮转动带动立刀架往夹持部的轴心移动。本实用新型的有益效果是:刀夹移动由伺服电机带动凸轮转动,然后由凸轮推动刀夹作进刀运动,刀夹的运动距离及精度由伺电机控制,从而保证了刀具的进刀精度,而且整个传功机构拆装方便,省去了大量的部件装配时间和成本,用户使用时更加简单、方便。


