授权公布号:CN214980056U
一种龙门式坐标磨床
有效
申请
2021-06-25
申请公布
1970-01-01
授权
2021-12-03
预估到期
2031-06-25
| 申请号 | CN202121428156.1 |
| 申请日 | 2021-06-25 |
| 授权公布号 | CN214980056U |
| 授权公告日 | 2021-12-03 |
| 分类号 | B24B27/00;B24B41/04;B24B41/00;B24B47/20;B24B41/02;B24B5/48 |
| 分类 | 磨削;抛光; |
| 申请人名称 | 四川普什宁江机床有限公司 |
| 申请人地址 | 四川省成都市都江堰市四川省都江堰经济开发区天府大道 |
专利法律状态
2021-12-03
授权
状态信息
授权
摘要
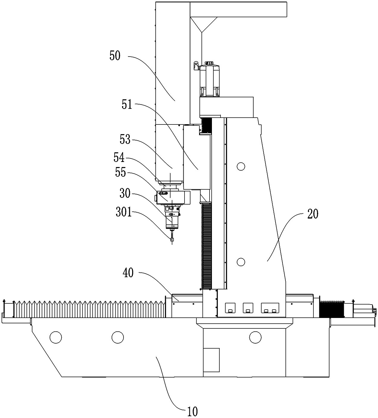
本实用新型公开了一种龙门式坐标磨床,床身上滑动安装有X向滑台,X向滑台通过X向驱动机构驱动,且使得X向滑台可相对双立柱前后移动;双立柱上滑动安装有W向横梁,W向横梁通过W向驱动机构驱动,且使得W向横梁沿双立柱上下移动;W向横梁上滑动安装有Y向滑板,W向横梁上安装有Y向驱动机构,Y向驱动机构驱动Y向滑板沿W向横梁左右移动,Y向滑板上安装主轴箱,主轴箱内部安装有静压主轴机构,静压主轴机构的底部安装有U向滑板机构,U向滑板机构上安装有磨削主轴,磨削主轴上安装有砂轮。采用龙门式结构,增大了零件加工尺寸范围;采用静压主轴机构,可同时实现回转和直线运动,简化了主轴结构,提高了回转精度和使用寿命。


