授权公布号:CN219452451U
一种防坠高稳定性的大型工业风扇
有效
申请
2023-03-22
申请公布
1970-01-01
授权
2023-08-01
预估到期
2033-03-22
| 申请号 | CN202320578602.X |
| 申请日 | 2023-03-22 |
| 授权公布号 | CN219452451U |
| 授权公告日 | 2023-08-01 |
| 分类号 | F04D25/08;F04D29/32;F04D29/34;F04D29/00 |
| 分类 | 液体变容式机械;液体泵或弹性流体泵; |
| 申请人名称 | 广东瑞泰通风降温设备有限公司 |
| 申请人地址 | 广东省东莞市松山湖园区科技四路16号1栋1601-1606室 |
专利法律状态
2023-08-01
授权
状态信息
授权
摘要
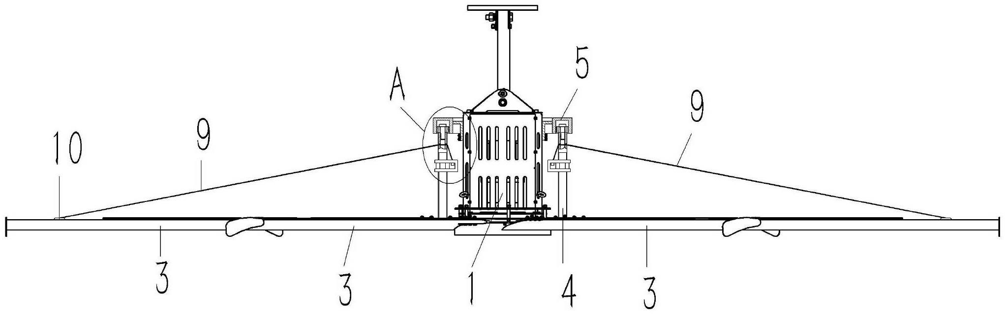
本实用新型涉及一种防坠高稳定性的大型工业风扇,包括竖向的外转子电机,外转子电机的外转子的下端固定有转盘,转盘上若干超长型的扇叶,外转子电机四周的转盘上固定有若干竖向的支撑柱,支撑柱上方的外转子电机上插套有圆环形的导轨,导轨的内壁上固定有若干耳座,耳座固定在外转子电机的外壳体上;所述支撑柱的顶部通过螺栓枢接有水平的导轮,导轮插设在导轨的导轨槽内,所述扇叶远离外转子电机的一端通过螺钉固定有钢丝绳,钢丝绳的另一端固定在靠近支撑柱顶端的支撑柱上。本大型工业风扇对扇叶进行了加固,能有效防止扇叶的坠落;并且加固结构对于工业风扇产生的风量、风压影响小,能有效保证大型工业风扇稳定运行。


