授权公布号:CN212634355U
一种新型大直径抗颤振镗杆结构
有效
申请
2020-06-15
申请公布
1970-01-01
授权
2021-03-02
预估到期
2030-06-15
| 申请号 | CN202021096589.7 |
| 申请日 | 2020-06-15 |
| 授权公布号 | CN212634355U |
| 授权公告日 | 2021-03-02 |
| 分类号 | B23B29/02 |
| 分类 | 机床;不包含在其他类目中的金属加工; |
| 申请人名称 | 青海华鼎重型机床有限责任公司 |
| 申请人地址 | 青海省西宁市生物园区经二路北段24号 |
专利法律状态
2023-07-28
专利申请权、专利权的转移
状态信息
专利权的转移;IPC(主分类):B23B 29/02;专利号:ZL2020210965897;登记生效日:20230714;变更事项:专利权人;变更前权利人:青海华鼎重型机床有限责任公司;变更后权利人:青海青重机床制造有限责任公司;变更事项:地址;变更前权利人:810000 青海省西宁市大通县体育路1号;变更后权利人:810000 青海省西宁市生物园区经二路北段24号
2021-03-02
授权
状态信息
授权
摘要
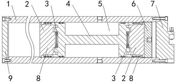
本实用新型公开了一种新型大直径抗颤振镗杆结构,包括两端贯通的镗杆杆体,所述的镗杆杆体的一端通过法兰盘连接,另一端通过镗杆接头连接,所述镗杆杆体的内部设有动力式减振器,所述镗杆杆体的内部具有放置动力式减振器的限位腔,所述的动力式减振器由胀套、位于胀套两端的胀块、胀块和胀套之间的碟形弹簧构成,所述限位腔的一端设有紧靠胀块和杆接头的螺母,且所述的螺母与所述的限位腔螺纹固定,本实用新型的大直径镗杆结构,通过设置的动力式减振器,在深孔加工过程中振动一旦产生,镗杆的动能将被吸收,使的镗杆的振动最小化,进而增强了镗杆的抗颤振能力。


