授权公布号:CN212634347U
一种倒角深度测头控制机构
有效
申请
2020-06-15
申请公布
1970-01-01
授权
2021-03-02
预估到期
2030-06-15
| 申请号 | CN202021097390.6 |
| 申请日 | 2020-06-15 |
| 授权公布号 | CN212634347U |
| 授权公告日 | 2021-03-02 |
| 分类号 | B23B25/06 |
| 分类 | 机床;不包含在其他类目中的金属加工; |
| 申请人名称 | 青海华鼎重型机床有限责任公司 |
| 申请人地址 | 青海省西宁市生物园区经二路北段24号 |
专利法律状态
2023-07-28
专利申请权、专利权的转移
状态信息
专利权的转移;IPC(主分类):B23B 25/06;专利号:ZL2020210973906;登记生效日:20230714;变更事项:专利权人;变更前权利人:青海华鼎重型机床有限责任公司;变更后权利人:青海青重机床制造有限责任公司;变更事项:地址;变更前权利人:810000 青海省西宁市大通县体育路1号;变更后权利人:810000 青海省西宁市生物园区经二路北段24号
2021-03-02
授权
状态信息
授权
摘要
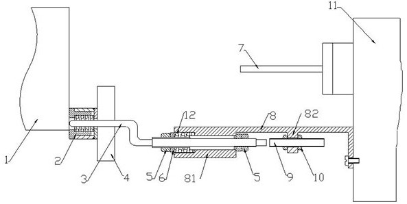
本实用新型公开了一种倒角深度测头控制机构,包括主轴箱、固定在主轴箱上的刀具,所述主轴箱内具有控制器,还包括与工件相互配合的测头杆、固定在主轴箱上的测头体、与控制器相互配合的接近开关,所述的接近开关远离测头杆的一侧具有调节杆,所述的测头体包括套设在测头杆的第一连接部、套设在调节螺纹杆上的第二连接部,所述第一连接部的两侧均设有与测头杆相互配合的固定螺母和垫圈,本实用新型公开的倒角深度侧头机构,提高了加工准确性和自动化程度,操作者无须在加工倒角时靠个人经验进行加工,降低了操作者的劳动强度,提高了生产效率,同时也保证了倒角外观的一致性。


