授权公布号:CN217746908U
一种建筑装饰工程用搅拌设备
有效
申请
2022-06-10
申请公布
1970-01-01
授权
2022-11-08
预估到期
2032-06-10
| 申请号 | CN202221443266.X |
| 申请日 | 2022-06-10 |
| 授权公布号 | CN217746908U |
| 授权公告日 | 2022-11-08 |
| 分类号 | B01F35/45;B01F35/10;B01F33/50;B01F35/32;B01F27/90;B01F27/85 |
| 分类 | 一般的物理或化学的方法或装置; |
| 申请人名称 | 广州顿奇装饰集团股份有限公司 |
| 申请人地址 | 广东省广州市从化经济开发区高技术产业园百德新路45号五层507房 |
专利法律状态
2022-11-08
授权
状态信息
授权
摘要
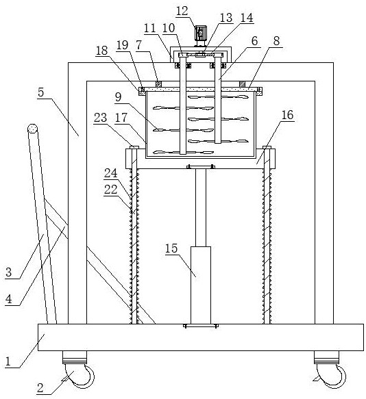
本实用新型公开了一种建筑装饰工程用搅拌设备,包括底板,底板底部固定安装有多个万向轮,底板顶部固定连接有支撑架,支撑架中部转动连接有两个搅拌轴,支撑架底部固定连接有连接柱,连接柱下端固定连接有桶盖,底板顶部中央通过螺栓固定连接有电动伸缩杆,电动伸缩杆上端通过螺栓固定连接有升降板,升降板上活动连接有搅拌桶,本实用新型通过搅拌电机工作带动两个搅拌轴转动,带动搅拌桨叶交错对物料进行搅拌,提高了搅拌效率,通过设置的桶盖对搅拌桶进行封盖,防止物料在搅拌过程中飞溅出来,通过设置的定位柱及定位孔配合使得搅拌桶在搅拌过程中不会移动,通过设置的导向杆和顶紧弹簧使得升降板在升降过程中更稳定,不会晃动将物料洒出。


