授权公布号:CN214841645U
一种具有任意组合喷头的集成热水器
有效
申请
2021-05-22
申请公布
1970-01-01
授权
2021-11-23
预估到期
2031-05-22
| 申请号 | CN202121114631.8 |
| 申请日 | 2021-05-22 |
| 授权公布号 | CN214841645U |
| 授权公告日 | 2021-11-23 |
| 分类号 | F24H1/14;F24H9/12;F24H9/18;F24H9/20;B05B1/18 |
| 分类 | 供热;炉灶;通风; |
| 申请人名称 | 广东圣玛洛热能科技有限公司 |
| 申请人地址 | 广东省佛山市顺德区杏坛镇高赞村二环路8号顺德智富园36栋301之一 |
专利法律状态
2021-11-23
授权
状态信息
授权
摘要
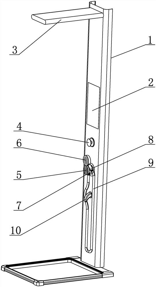
本实用新型提供一种具有任意组合喷头的集成热水器,包括热水器体和安装在热水器体的显示控制板、顶浴淋器、出水控制键,显示控制板分别与热水器体、顶浴淋器、出水控制键连接,热水器体设有花洒组合件,花洒组合件包括侧出直喷花洒、手持花洒、主连接通水器,主连接通水器安装在热水器体,同时主连接通水器分别与侧出直喷花洒、手持花洒连通,多组合喷头可供选用,多元化使用,适用性强;且主连接通水器设有与手持花洒相配磁吸连接用的磁吸连接位,采用磁吸组合连接方式,结构简单,能任意放置手持花洒,使用灵活,连接稳定性能好,避免手持花洒脱落,确保手持花洒的使用质量。


