授权公布号:CN209143229U
一种粉类进料装置
有效
申请
2018-10-26
申请公布
1970-01-01
授权
2019-07-23
预估到期
2028-10-26
| 申请号 | CN201821750322.8 |
| 申请日 | 2018-10-26 |
| 授权公布号 | CN209143229U |
| 授权公告日 | 2019-07-23 |
| 分类号 | B65G65/32;B65G65/46;B65G65/40;B65G69/18;B65G33/26 |
| 分类 | 输送;包装;贮存;搬运薄的或细丝状材料; |
| 申请人名称 | 广东贝尤安新材料科技有限公司 |
| 申请人地址 | 广东省江门市新会区睦洲镇新沙工业园 |
专利法律状态
2019-07-23
授权
状态信息
授权
摘要
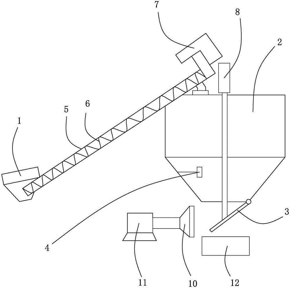
本实用新型公开了一种粉类进料装置,包括有入料斗、螺杆输送机构、料仓以及控制单元,所述入料斗设置在料仓的前端,通过螺杆输送机构将物料输送至料仓内,所述料仓底部设置有出料口,所述出料口一端铰接有仓门,所述料仓设置有仓门打开机构,所述仓门打开机构用以控制所述仓门的开、合,所述料仓内部设置有料位传感器,所述料位传感器向所述控制单元传递信号,所述控制单元控制所述仓门打开机构的工作,在所述出料口的一侧设置有除尘机构。本实用新型提供的一种粉类进料装置,可以减缓搬运物料出现的扬尘现象,降低工人的劳动强度。


