授权公布号:CN206315590U
一种用于制备贝壳粉涂料的粉尘回收装置
有效
申请
2016-11-18
申请公布
1970-01-01
授权
2017-07-11
预估到期
2026-11-18
| 申请号 | CN201621240518.3 |
| 申请日 | 2016-11-18 |
| 授权公布号 | CN206315590U |
| 授权公告日 | 2017-07-11 |
| 分类号 | B01D46/10 |
| 分类 | 一般的物理或化学的方法或装置; |
| 申请人名称 | 广东贝尤安新材料科技有限公司 |
| 申请人地址 | 广东省江门市新会区睦洲镇新沙工业园(广东贝尤安) |
专利法律状态
2017-07-11
授权
状态信息
授权
摘要
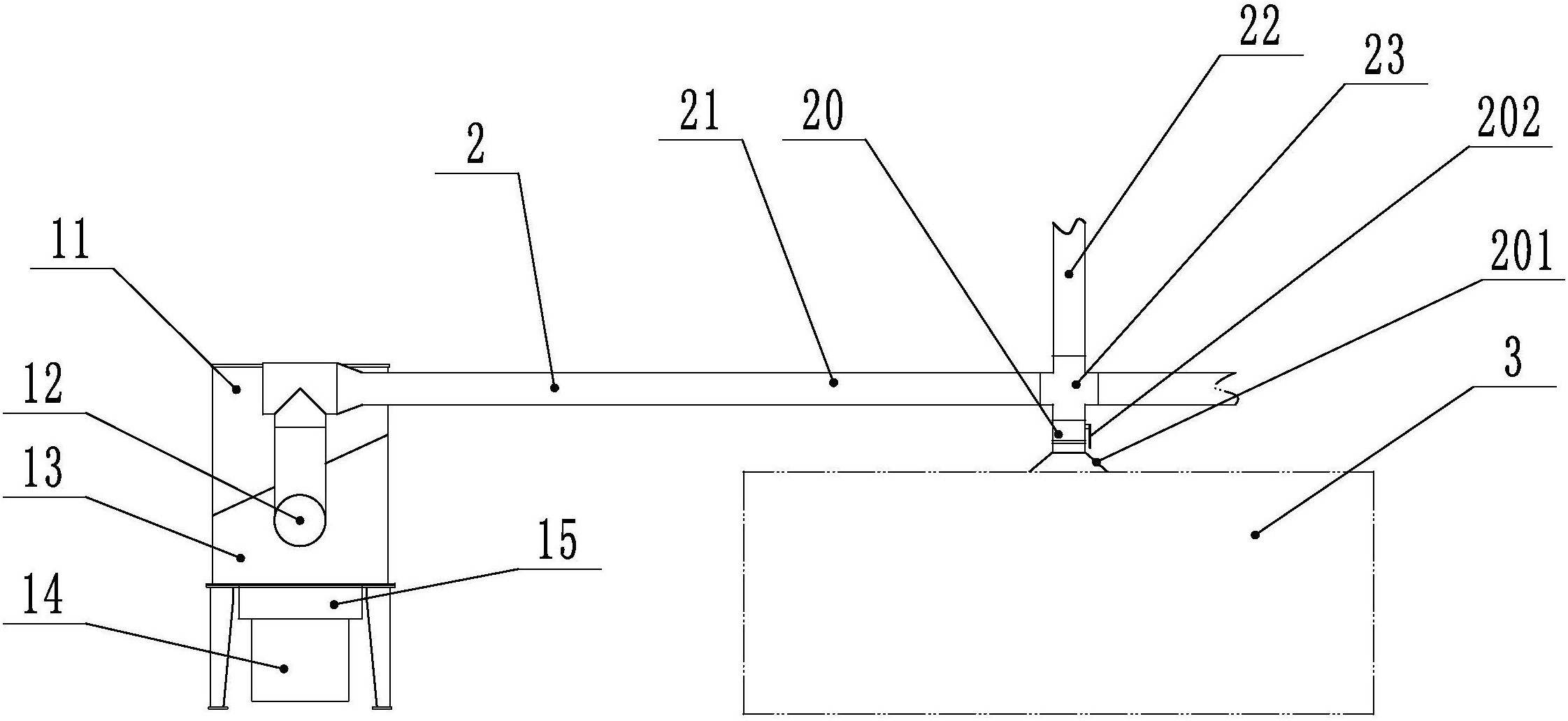
本实用新型公开了一种用于制备贝壳粉涂料的粉尘回收装置,包括动力机构和吸气管,动力机构设置有机架,机架设置有抽风装置、进风口和出料口,抽风装置安装有可控制其启闭的无线接收控制模块,抽风装置和进风口之间设置有向下倾斜的过滤网,出料口设置于过滤网下方,出料口下方卡扣连接有集尘盒,吸气管通过卡箍可拆卸连接于进风口端部,吸气管于粉碎机上方设置有回收口,本实用新型可避免粉尘飘散在车间内降低工作环境质量和影响工作人员的身体健康,同时将贝壳粉回收利用,避免浪费,而且本实用新型的抽风装置可以通过手机或电脑或其他电子设备进行无线控制其启闭,从而非常方便工人远距离进行操控。


