授权公布号:CN220442613U
一种多功能组合清洁用具
有效
申请
2023-06-30
申请公布
1970-01-01
授权
2024-02-06
预估到期
2033-06-30
| 申请号 | CN202321707837.0 |
| 申请日 | 2023-06-30 |
| 授权公布号 | CN220442613U |
| 授权公告日 | 2024-02-06 |
| 分类号 | A47L13/12;A47L13/52 |
| 分类 | 家具;家庭用的物品或设备;咖啡磨;香料磨;一般吸尘器; |
| 申请人名称 | 爱玛客服务产业(中国)有限公司 |
| 申请人地址 | 天津市滨海新区天津开发区黄海路8号海盈公寓-1208 |
专利法律状态
2024-02-06
授权
状态信息
授权
摘要
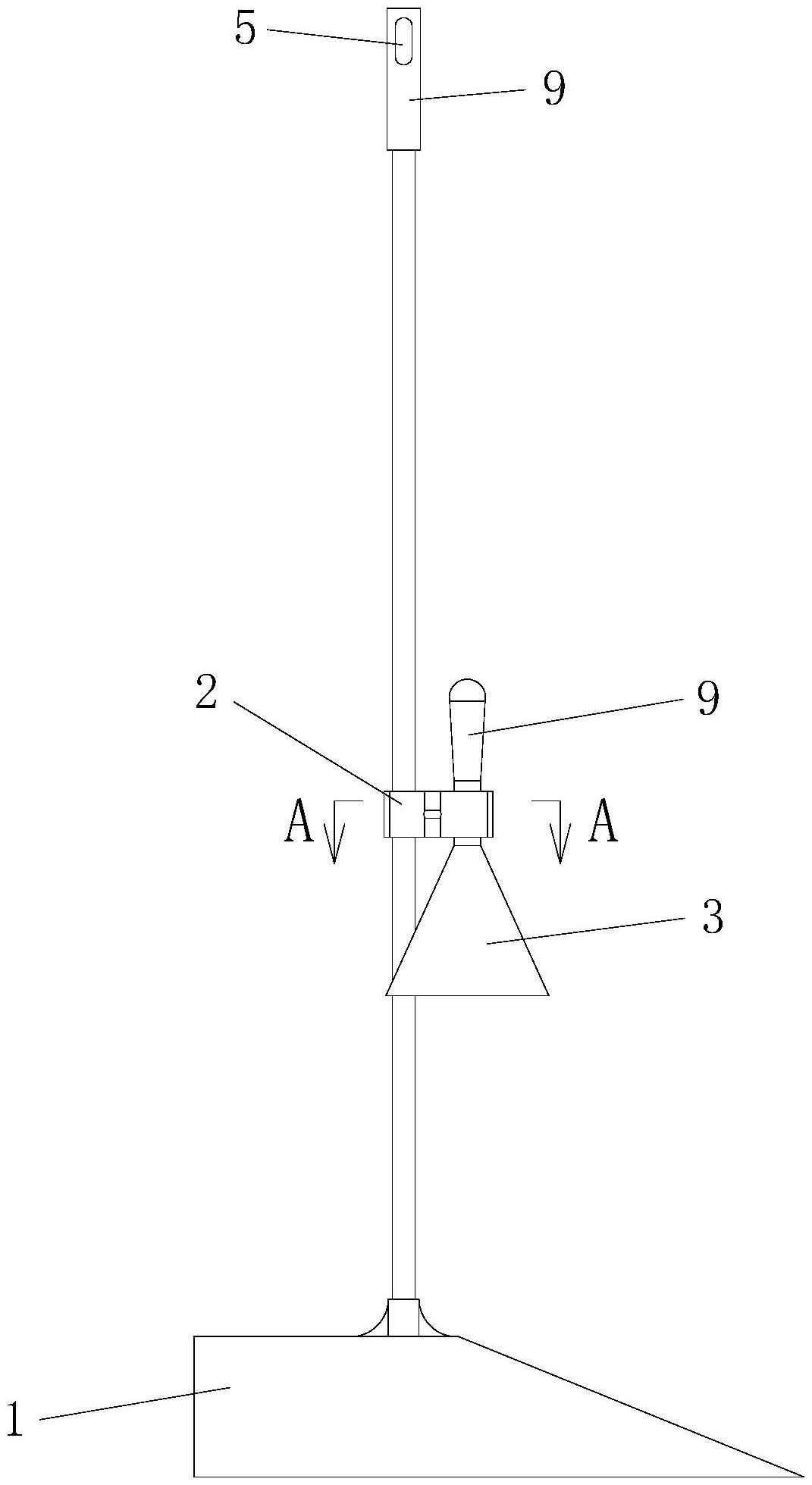
本实用新型公开了一种多功能组合清洁用具,包括带把的簸箕、管夹和铲子;所述簸箕的竖直杆固定连接于簸箕的上面;所述铲子通过所述管夹与所述竖直杆可拆分连接;所述管夹包括两个夹口,所述竖直杆卡紧于其中一个夹口以及铲子卡紧于另外一个夹口,进而使铲子和竖直杆均与相应的夹口适配。本实用新型方便了清洁人员处理地面上的顽固污物,铲子取放更方便。


