授权公布号:CN108177318B
一种注塑机的转轴调整工装及其工艺
有效
申请
2016-12-08
申请公布
2018-06-19
授权
2023-10-20
预估到期
2036-12-08
| 申请号 | CN201611118606.0 |
| 申请日 | 2016-12-08 |
| 申请公布号 | CN108177318A |
| 申请公布日 | 2018-06-19 |
| 授权公布号 | CN108177318B |
| 授权公告日 | 2023-10-20 |
| 分类号 | B29C45/80;B29C45/16 |
| 分类 | 塑料的加工;一般处于塑性状态物质的加工; |
| 申请人名称 | 海天塑机集团有限公司 |
| 申请人地址 | 浙江省宁波市北仑区小港海天路1688号 |
专利法律状态
2023-10-20
授权
状态信息
授权
2018-07-13
实质审查的生效
状态信息
实质审查的生效;IPC(主分类):B29C45/80;申请日:20161208
2018-06-19
公布
状态信息
公布
摘要
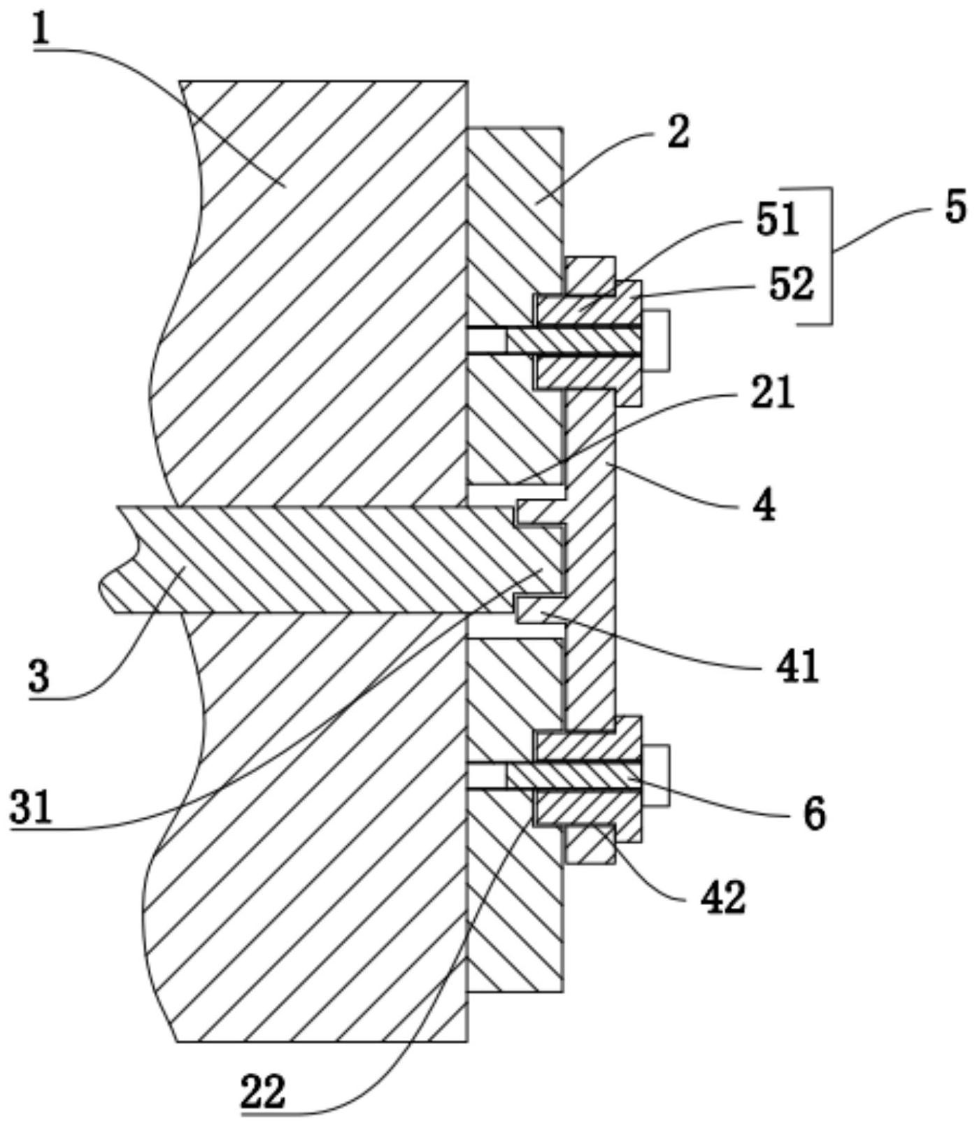
本发明公开了一种注塑机的转轴调整工装及工艺,包括动模板和穿过动模板的转轴,所述调整工装包括设于动模板端面的一定心板,所述定心板上设有一定心筒,所述动模板还配合固定有一辅助板,所述辅助板的中心设置有一用于穿过转轴的让位孔,于辅助板和定心板之间设置有使得定心筒的轴心与转轴的轴心处于同一轴线上的定位结构,所述定心筒的内径与转轴的轴尖直径间隙配合,在调试转轴的时候只需要将转轴的轴尖穿入定心筒然后转动转轴,能够使得转轴顺畅转动,便实现了转轴位置度和安装角度的调试,之后再进行固定,简单方便,且精度非常高。


