授权公布号:CN217751340U
一种高度可调节的支撑工装
有效
申请
2022-08-03
申请公布
1970-01-01
授权
2022-11-08
预估到期
2032-08-03
| 申请号 | CN202222030199.5 |
| 申请日 | 2022-08-03 |
| 授权公布号 | CN217751340U |
| 授权公告日 | 2022-11-08 |
| 分类号 | B25H1/10;B25H1/16 |
| 分类 | 手动工具;轻便机动工具;手动器械的手柄;车间设备;机械手; |
| 申请人名称 | 四川长征机床集团有限公司 |
| 申请人地址 | 四川省自贡市沿滩区高新工业园区卫里路19号(2栋) |
专利法律状态
2022-11-08
授权
状态信息
授权
摘要
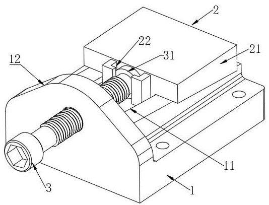
本申请提供一种高度可调节的支撑工装,包括:底板及滑块。底板的顶面设有倾斜的滑槽,滑块滑动设于滑槽内,滑块具有楔形块,楔形块的底面与滑槽侧壁的顶面滑动接触,楔形块的顶面与底板的底面平行,底板对应滑槽延伸方向的一端设有调节螺杆,用于驱动滑块沿滑槽滑动。适合大型、重型零部件使用,支撑稳定性更好,更加安全可靠。


