授权公布号:CN215203101U
一种喷嘴位置自动调节装置
有效
申请
2021-04-06
申请公布
1970-01-01
授权
2021-12-17
预估到期
2031-04-06
| 申请号 | CN202120716828.2 |
| 申请日 | 2021-04-06 |
| 授权公布号 | CN215203101U |
| 授权公告日 | 2021-12-17 |
| 分类号 | B29C45/07;B29C45/17;B29C45/76 |
| 分类 | 塑料的加工;一般处于塑性状态物质的加工; |
| 申请人名称 | 恩格尔机械(上海)有限公司 |
| 申请人地址 | 上海市闵行区申富路1000号 |
专利法律状态
2021-12-17
授权
状态信息
授权
摘要
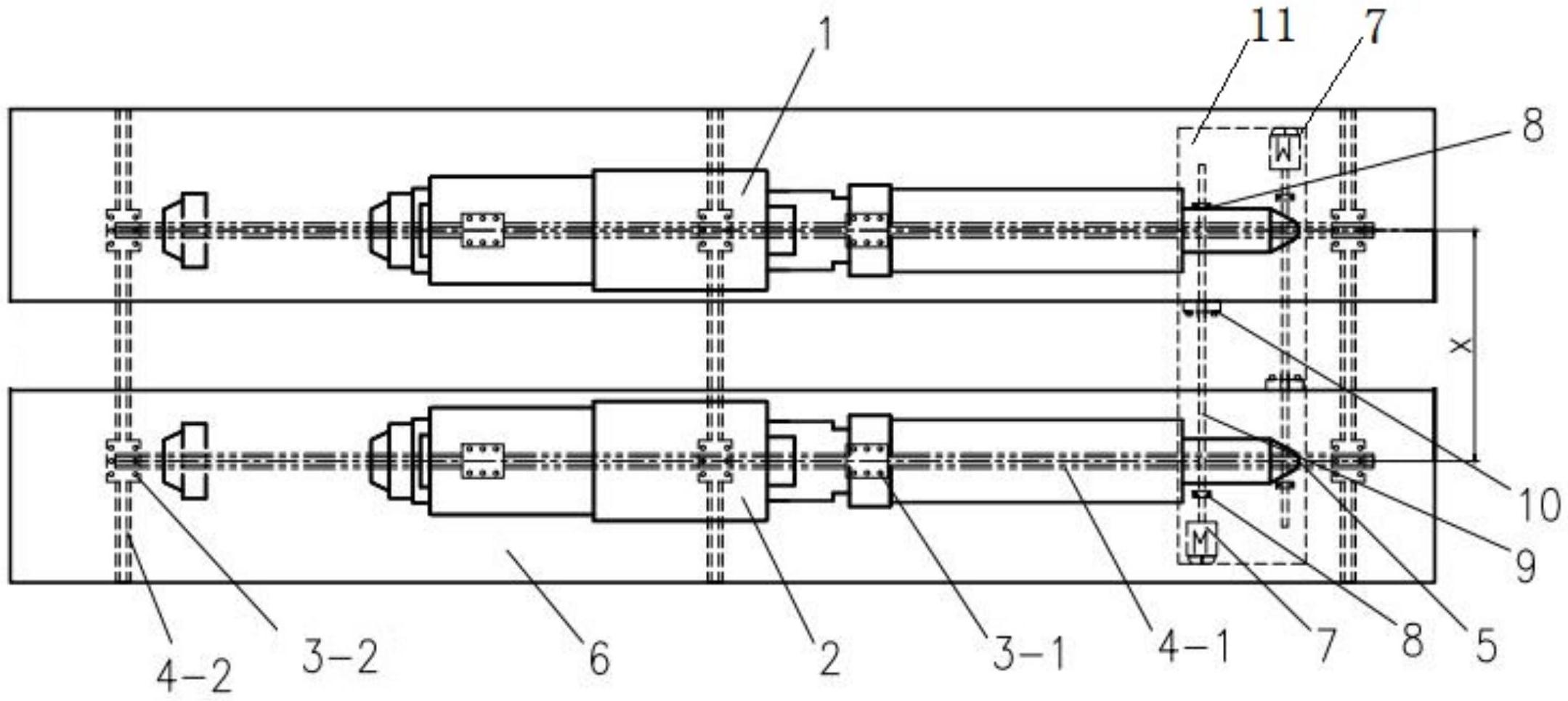
本实用新型涉及一种喷嘴位置自动调节装置,属于塑料机械技术领域。包括水平注射单元、横向移动机构、纵向移动机构、注射单元底座、固定块和注射单元基座;水平注射单元下方设有纵向移动机构;水平注射单元通过纵向移动机构与注射单元底座连接,注射单元底座下方设有注射单元基座;注射单元基座上设有横向移动机构;注射单元底座上设有固定块,注射单元底座通过固定块与横向移动机构连接。通过本实用新型实现了喷嘴水平移动,增加了注塑机的功能,实现了喷嘴自动对准,减少了更换模具的时间,提高了生产效率,降低注塑机操作难度。使一种注射单元可以对应使用多种模具;减少了模具设计难度,降低模具设计制造成本。


