授权公布号:CN111516229B
用于成型机的驱动装置和具有驱动装置的成型机
有效
申请
2019-02-01
申请公布
2020-08-11
授权
2022-03-01
预估到期
2039-02-01
| 申请号 | CN201910101544.X |
| 申请日 | 2019-02-01 |
| 申请公布号 | CN111516229A |
| 申请公布日 | 2020-08-11 |
| 授权公布号 | CN111516229B |
| 授权公告日 | 2022-03-01 |
| 分类号 | B29C45/67 |
| 分类 | 塑料的加工;一般处于塑性状态物质的加工; |
| 申请人名称 | 恩格尔机械(上海)有限公司 |
| 申请人地址 | 上海市闵行区莘庄工业园区申富路1000号 |
专利法律状态
2022-03-01
授权
状态信息
授权
2020-08-11
公布
状态信息
公布
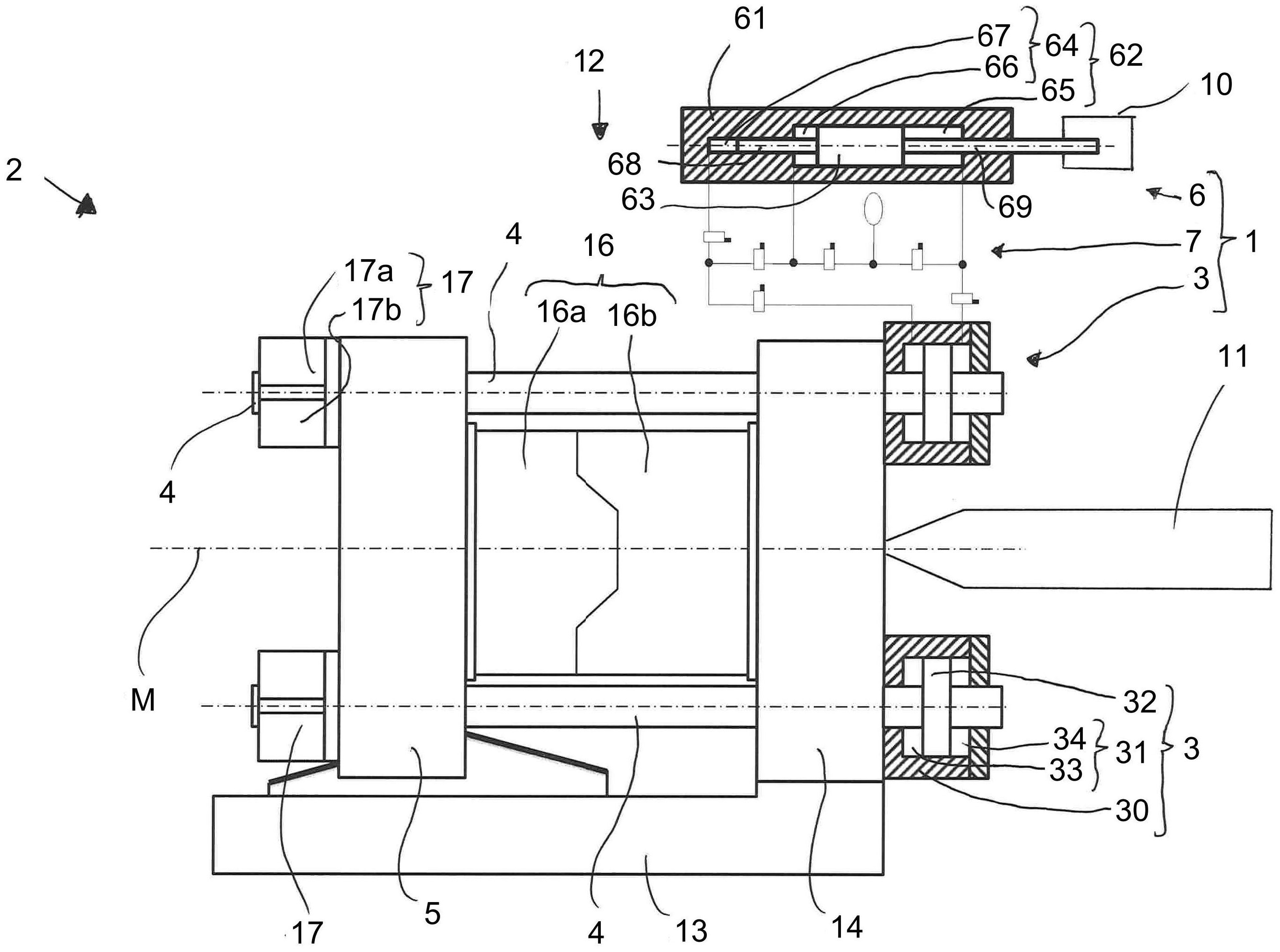
摘要
本发明涉及一种用于成型机的驱动装置,其具有:至少一个液压驱动的压力垫,成型机的梁柱或可动模具压板能够经由压力垫运动以施加闭合力;用于输送液压流体的输送装置,其中,输送装置具有输送缸、在输送缸中构成的且用液压流体填充的输送腔和能够在输送腔中运动的输送活塞,输送活塞将输送腔分成第一腔和第二腔;和用液压流体填充的液压管线系统,输送装置经由液压管线系统与压力垫连接,其特征在于,所述输送装置构成为两级式力转换器,其中,所述第二腔构成为两部分式的。本发明还涉及一种具有该驱动装置的成型机。


