授权公布号:CN106945242B
一种二板式锁模装置
有效
申请
2017-02-24
申请公布
2017-07-14
授权
2023-08-08
预估到期
2037-02-24
| 申请号 | CN201710104146.4 |
| 申请日 | 2017-02-24 |
| 申请公布号 | CN106945242A |
| 申请公布日 | 2017-07-14 |
| 授权公布号 | CN106945242B |
| 授权公告日 | 2023-08-08 |
| 分类号 | B29C45/67;B22D17/26 |
| 分类 | 塑料的加工;一般处于塑性状态物质的加工; |
| 申请人名称 | 博创智能装备股份有限公司 |
| 申请人地址 | 广东省广州市增城市汽车产业基地新祥路9号 |
专利法律状态
2023-08-08
授权
状态信息
授权
2018-03-06
专利申请权、专利权的转移
状态信息
专利申请权的转移;IPC(主分类):B29C45/67;登记生效日:20180212;变更事项:申请人;变更前:博创智能装备股份有限公司;变更后:博创智能装备股份有限公司;变更事项:地址;变更前:511300 广东省广州市增城市汽车产业基地新祥路9号;变更后:511340 广东省广州市增城市汽车产业基地新祥路9号;变更事项:申请人;变更前:叶廷璧
2017-08-08
实质审查的生效
状态信息
实质审查的生效;IPC(主分类):B29C45/67;申请日:20170224
2017-07-14
公布
状态信息
公布
摘要
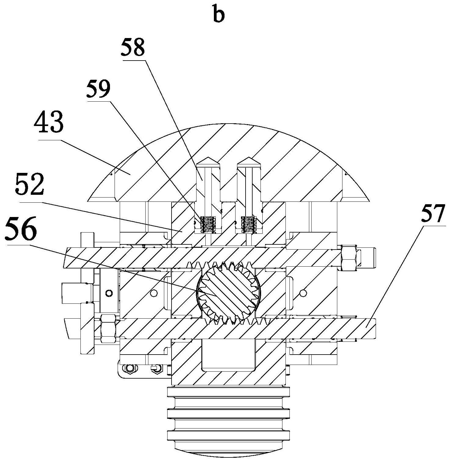
本发明公开了一种二板式锁模装置,包括抱闸组件、定模板、拉杆、动模板、锁模油缸组件;锁模油缸组件固定于动模板的一侧,抱闸组件卡接于锁模油缸组件,抱闸组件与拉杆的另一端抱闸配合;抱闸组件与锁模油缸组件之间设有弹性件,抱闸组件与锁模油缸组件之间的卡位设有间隙,抱闸组件的内牙和拉杆的外牙之间设有间隙;锁模装置脱模完成后,抱闸组件的右端面与锁模油缸组件的左端面不接触。本发明中由于处于压缩状态的弹性件一直对抱闸组件与锁模油缸组件均有推力作用,当锁模装置脱模完成后,使得抱闸组件与锁模油缸组件之间的接触端面实现分离;这样可以减小高速开抱闸的机械冲击和防止抱闸组件开合时与锁模活塞端面直接刮擦出现磨损。


