授权公布号:CN211338712U
一种应用于高空作业平台的安全高度保护系统
有效
申请
2019-10-16
申请公布
1970-01-01
授权
2020-08-25
预估到期
2029-10-16
| 申请号 | CN201921738752.2 |
| 申请日 | 2019-10-16 |
| 授权公布号 | CN211338712U |
| 授权公告日 | 2020-08-25 |
| 分类号 | B66F11/04;B66F17/00 |
| 分类 | 卷扬;提升;牵引; |
| 申请人名称 | 捷尔杰(天津)设备有限公司 |
| 申请人地址 | 天津市滨海新区空港经济区经三路228号 |
专利法律状态
2020-08-25
授权
状态信息
授权
摘要
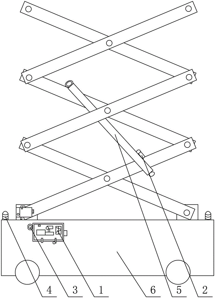
本实用新型公开一种应用于高空作业平台的安全高度保护系统,包括控制器、压力传感器、蜂鸣器和报警灯,所述控制器位于电气箱内,并与控制面板、所述压力传感器、蜂鸣器和报警灯连接,所述压力传感器位于举升油缸上,所述蜂鸣器和报警灯位于车架上。本实用新型利用压力传感器的数值,实现了上升自动停止行走和下降时防夹手的功能,对设备和工作人员都起到了很好的保护作用,提高了安全性;本实用新型结构简单、设计合理,利于推广。


