授权公布号:CN215184357U
一种高空作业车电池托盘的两自由度调节机构
有效
申请
2021-07-09
申请公布
1970-01-01
授权
2021-12-14
预估到期
2031-07-09
| 申请号 | CN202121578804.1 |
| 申请日 | 2021-07-09 |
| 授权公布号 | CN215184357U |
| 授权公告日 | 2021-12-14 |
| 分类号 | H01M50/244;H01M50/249;B66F13/00;B66F11/04 |
| 分类 | 基本电气元件; |
| 申请人名称 | 捷尔杰(天津)设备有限公司 |
| 申请人地址 | 天津市滨海新区空港经济区经三路228号 |
专利法律状态
2021-12-14
授权
状态信息
授权
摘要
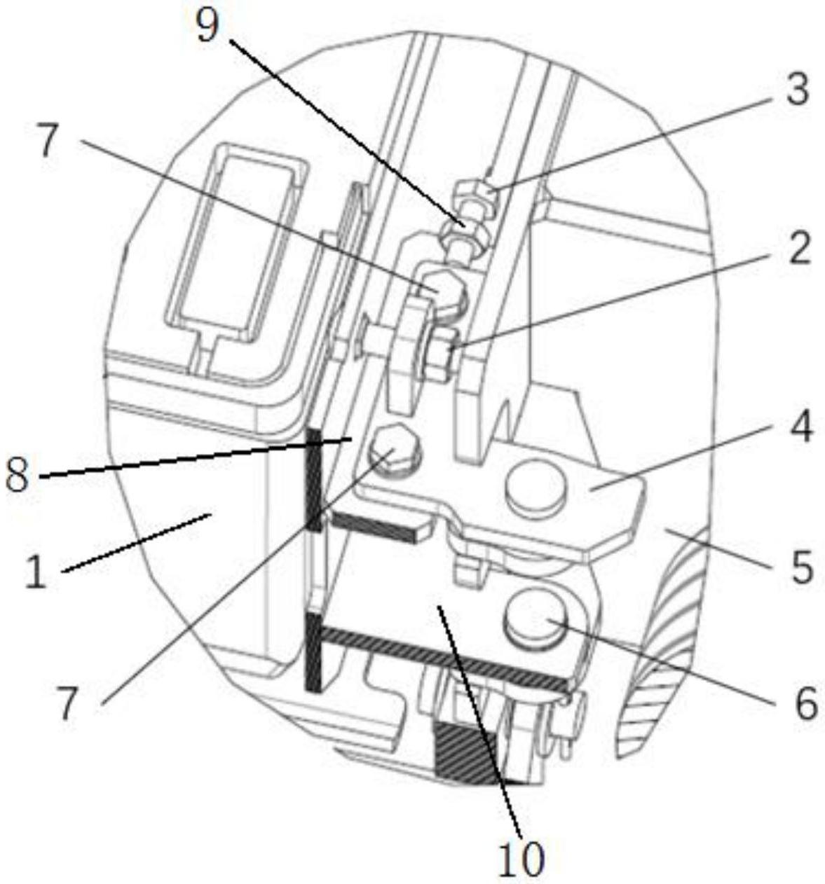
本实用新型提供了一种高空作业车电池托盘的两自由度调节机构,包括电池托盘和调节支架,所述电池托盘上固定有连接板A,所述连接板A上固定有螺母,所述调节支架与车架固定连接,所述调节支架位于连接板A上,并通过紧固螺栓与连接板A连接,所述调节支架上设置有调节螺栓A,所述调节螺栓A的前端抵在电池托盘上,所述螺母上连接有调节螺栓B,所述调节螺栓B的前端抵在调节支架上。本实用新型通过相互垂直的调节螺栓A和调节螺栓B,分别在前后、左右方向上调节电池托盘位置,通过旋拧调节螺栓即可达到调节电池托盘的位置,从而避免对电池托盘的维修。


