授权公布号:CN114013906B
物料颗粒检测仪
有效
申请
2021-10-29
申请公布
2022-02-08
授权
2024-03-22
预估到期
2041-10-29
| 申请号 | CN202111276865.7 |
| 申请日 | 2021-10-29 |
| 申请公布号 | CN114013906A |
| 申请公布日 | 2022-02-08 |
| 授权公布号 | CN114013906B |
| 授权公告日 | 2024-03-22 |
| 分类号 | B65G11/02;B65G53/16;B65G53/34;B65G15/30;B65G33/26;G01N15/0205 |
| 分类 | 输送;包装;贮存;搬运薄的或细丝状材料; |
| 申请人名称 | 江苏丰尚智能科技有限公司 |
| 申请人地址 | 江苏省扬州市高新技术产业开发区华声路1号 |
专利法律状态
2024-03-22
授权
状态信息
授权
2022-02-25
实质审查的生效
状态信息
实质审查的生效;IPC(主分类):B65G11/02;申请日:20211029
2022-02-08
公布
状态信息
公布
摘要
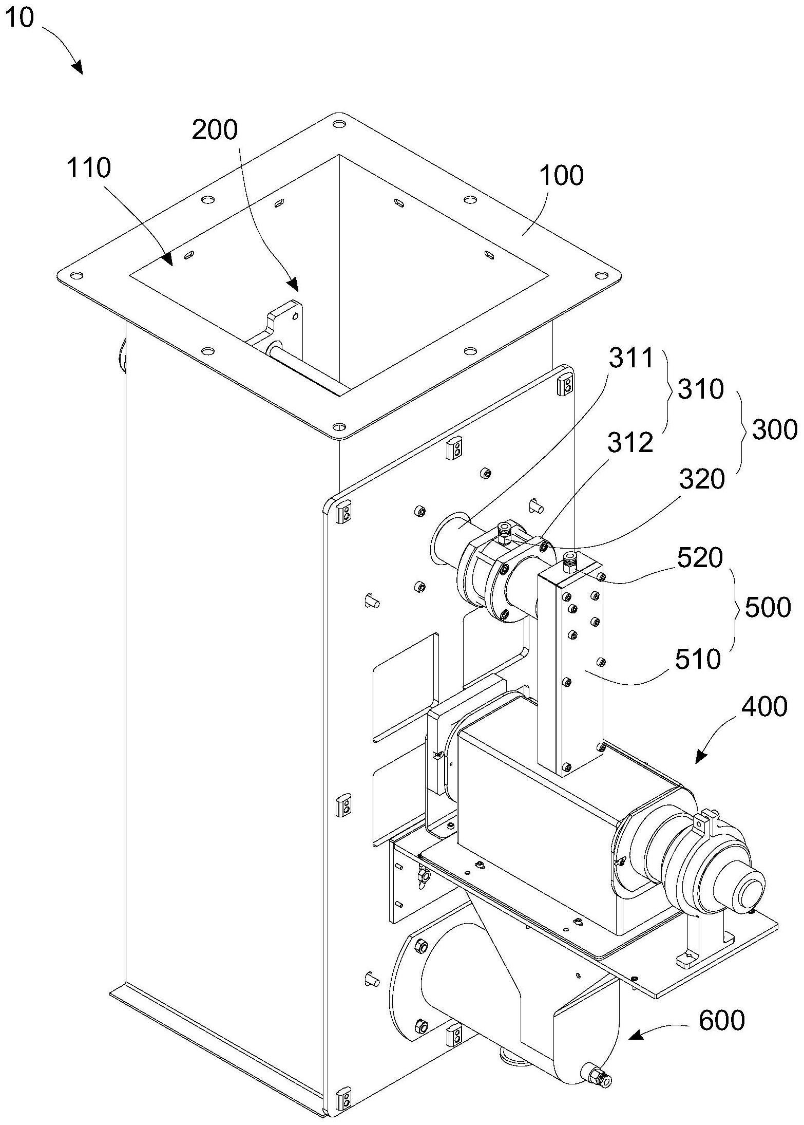
本发明涉及一种物料颗粒检测仪,包括:料管,料管的一端开口形成物料颗粒的进料口;输送装置,包括安装于料管的承接管及驱动单元,承接管开设有用于连通料管的承接口,承接口位于进料口的下方,驱动单元用于排出承接管内的物料颗粒;分离装置,包括分离壳及分离单元,分离壳与承接管相连通,分离单元用于分离进入分离壳的物料颗粒;检测装置,包括安装于料管外的检测壳及检测单元,检测壳与分离壳相连通,检测单元用于检测检测壳内的物料颗粒的粒度;经过分离壳能够使得物料颗粒之间具有较大的距离,保证了检测准确性,适用于谷物粉碎颗粒,及时高效地实时在线监测饲料原料质量,使得饲料产品质量的可控。


