授权公布号:CN113182441B
一种冲压节能冷却系统
有效
申请
2021-04-30
申请公布
2021-07-30
授权
2024-01-26
预估到期
2041-04-30
| 申请号 | CN202110484226.3 |
| 申请日 | 2021-04-30 |
| 申请公布号 | CN113182441A |
| 申请公布日 | 2021-07-30 |
| 授权公布号 | CN113182441B |
| 授权公告日 | 2024-01-26 |
| 分类号 | B21D37/16;B21D37/10;F03D9/25;F03D9/34;F03D15/00 |
| 分类 | 基本上无切削的金属机械加工;金属冲压; |
| 申请人名称 | 合肥合锻智能制造股份有限公司 |
| 申请人地址 | 安徽省合肥市经济技术开发区紫云路123号 |
专利法律状态
2024-01-26
授权
状态信息
授权
2021-08-17
实质审查的生效
状态信息
实质审查的生效;IPC(主分类):B21D37/16;申请日:20210430
2021-07-30
公布
状态信息
公布
摘要
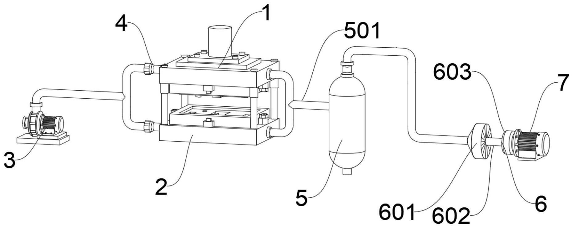
本发明公开了一种冲压节能冷却系统,属于机械加工技术领域。一种冲压节能冷却系统,包括上模板和下模板,所述下模板位于上模板的下方,所述上模板和下模板的左侧均连接有单向阀,所述单向阀的进口处连接有注水装置,所述上模板和下模板的右侧连接有增压装置,所述增压装置的右侧连接有风力收集装置,所述风力收集装置的右侧连接有发电机。本发明解决了传统的冷却系统会造成能量浪费以及环境污染的问题。


