授权公布号:CN213142998U
一种自动水门装置
有效
申请
2020-08-13
申请公布
1970-01-01
授权
2021-05-07
预估到期
2030-08-13
| 申请号 | CN202021676751.2 |
| 申请日 | 2020-08-13 |
| 授权公布号 | CN213142998U |
| 授权公告日 | 2021-05-07 |
| 分类号 | E02B13/02;G01F23/58 |
| 分类 | 水利工程;基础;疏浚; |
| 申请人名称 | 佐竹机械(苏州)有限公司 |
| 申请人地址 | 江苏省苏州市高新区金枫路229号 |
专利法律状态
2021-05-07
授权
状态信息
授权
摘要
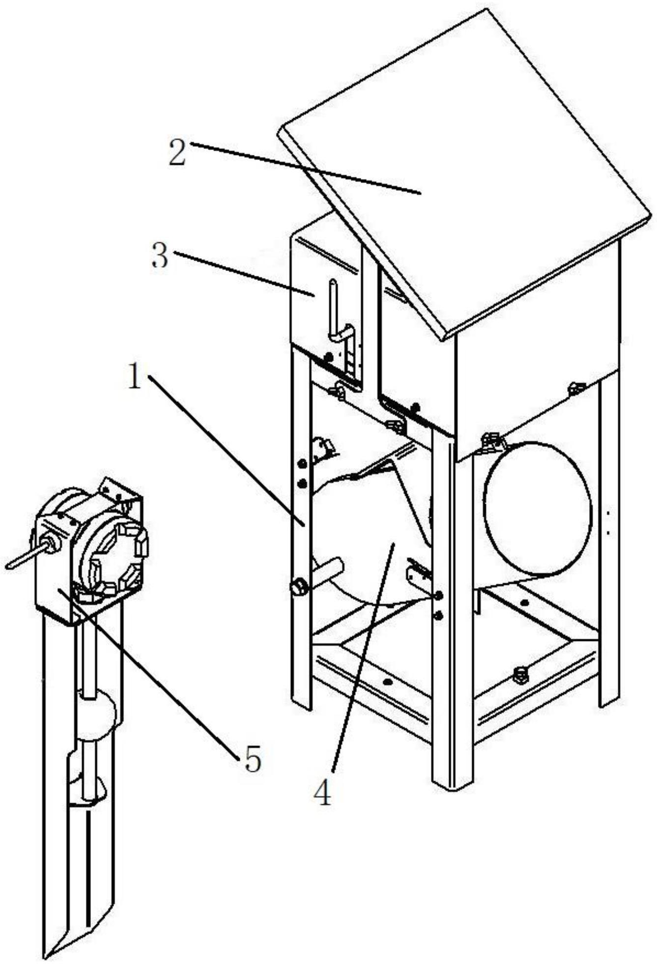
本实用新型涉及一种自动水门装置,包括水位传感器、支架、电源、控制箱和水管,所述水管位于所述支架内,且一端通过转轴与所述支架连接,另一端通过拉绳与所述控制箱连接,所述支架上端设有所述控制箱,所述控制箱外侧设有第二发射器,所述水位传感器包括传感器支架、传感器、第一发射器和浮球,所述传感器位于所述传感器支架上端,所述浮球与所述传感器连接,所述第一发射器位于所述传感器支架外侧。该实用新型的一种自动水门装置实现了对田中水位的自动检测和调节,减少了人工管理的工时,不会受天气、距离等因素的限制,操作简单方便。


