授权公布号:CN210871046U
一种均匀加热的恒压煮米机
有效
申请
2019-08-23
申请公布
1970-01-01
授权
2020-06-30
预估到期
2029-08-23
| 申请号 | CN201921380251.1 |
| 申请日 | 2019-08-23 |
| 授权公布号 | CN210871046U |
| 授权公告日 | 2020-06-30 |
| 分类号 | A47J27/08 |
| 分类 | 家具;家庭用的物品或设备;咖啡磨;香料磨;一般吸尘器; |
| 申请人名称 | 佐竹机械(苏州)有限公司 |
| 申请人地址 | 江苏省苏州市新区金枫路229号 |
专利法律状态
2020-06-30
授权
状态信息
授权
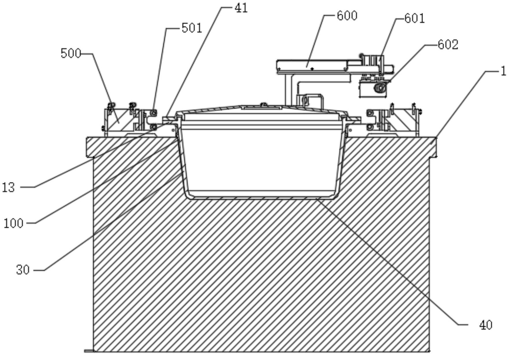
摘要
本实用新型提出了一种均匀加热的恒压煮米机,包括放置在锅体放置槽内的锅体以及盖合在锅体上的锅盖,通过在锅的底部和四周分别设置第一加热线圈和第二加热线圈,能够实现在不同温度和压力下,为锅的底部和四周提供不同的热量,同时,配合设置在锅四周的夹紧装置以及泄压装置,在保证锅内的密封性的同时,使得锅内始终保持一定的压力,使得米适当的吸收水分,保证了米饭口感,且能够节约热量,降低成本。


