授权公布号:CN220573547U
一种多用途小米加工流水线
有效
申请
2023-07-25
申请公布
1970-01-01
授权
2024-03-12
预估到期
2033-07-25
| 申请号 | CN202321963022.9 |
| 申请日 | 2023-07-25 |
| 授权公布号 | CN220573547U |
| 授权公告日 | 2024-03-12 |
| 分类号 | B02B5/02 |
| 分类 | 破碎、磨粉或粉碎;谷物碾磨的预处理; |
| 申请人名称 | 佐竹机械(苏州)有限公司 |
| 申请人地址 | 江苏省苏州市新区金枫路229号 |
专利法律状态
2024-03-12
授权
状态信息
授权
摘要
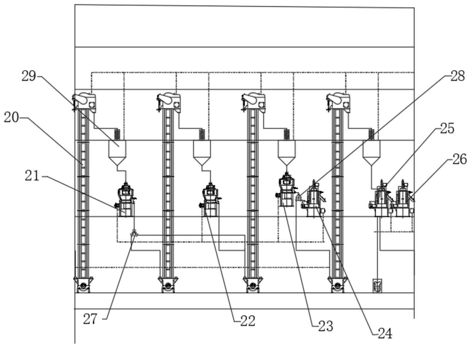
本实用新型提出了一种多用途小米加工流水线,包括依次布设的预处理工段、碾米工段以及成品整理工段,其中,所述碾米工段包括依次连接的若干第一碾米机和第二碾米机以及第一三通阀、第二三通阀。本实用新型在若干不同类型的碾米机之间通过第一三通阀和第二三通阀即可根据小米的加工需求控制碾米的工序,无需复杂的调节碾米机的精度也能够满足不同的加工需求,灵活调节,控制难度低,有效保证了小米的加工质量。


