授权公布号:CN215641470U
具有在线监测电能信号质量功能的油浸电压互感器
有效
申请
2021-05-20
申请公布
1970-01-01
授权
2022-01-25
预估到期
2031-05-20
| 申请号 | CN202121083277.7 |
| 申请日 | 2021-05-20 |
| 授权公布号 | CN215641470U |
| 授权公告日 | 2022-01-25 |
| 分类号 | G01R15/18;G01R19/00;H01F38/26;H01F27/28;H01F27/29;H01F27/04;H01F27/40 |
| 分类 | 测量;测试; |
| 申请人名称 | 大连华亿电力电器有限公司 |
| 申请人地址 | 辽宁省大连市普兰店经济开发区长店堡社区蘑菇房屯66号 |
专利法律状态
2022-01-25
授权
状态信息
授权
摘要
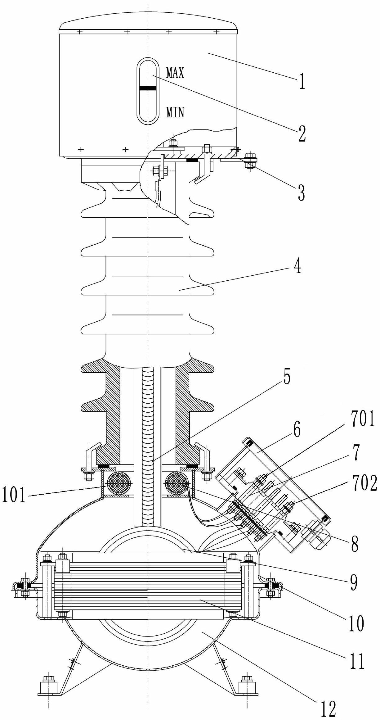
本实用新型涉及一种具有在线监测电能信号质量功能的油浸电压互感器,包括膨胀器、瓷套和油箱,其中瓷套上端设有一次端子,瓷套内设有一次引线,油箱内设有一次线圈和铁芯,且一次引线上端与一次端子连接、下端与一次线圈连接,油箱内注入变压器油,油箱一侧设有二次接线盒,二次接线盒内设有二次接线板,油箱上端内设有信号测量线圈,一次引线由信号测量线圈内部穿过,二次接线板上设有第一端子和第二端子,信号测量线圈与第一端子连接,一次线圈与第二端子连接,第一端子通过线路与一个处理器连接,处理器通过线路与一个采集设备连接。本实用新型采用不易饱和的频带宽的罗氏线圈进行在线监测电能信号质量,测量范围广泛,且可对信号进行采集。


