授权公布号:CN102005294B
一种小型电流互感器
有效
申请
2010-11-09
申请公布
2011-04-06
授权
2015-08-19
预估到期
2030-11-09
| 申请号 | CN201010536233.5 |
| 申请日 | 2010-11-09 |
| 申请公布号 | CN102005294A |
| 申请公布日 | 2011-04-06 |
| 授权公布号 | CN102005294B |
| 授权公告日 | 2015-08-19 |
| 分类号 | H01F38/28;H01F27/28 |
| 分类 | 基本电气元件; |
| 申请人名称 | 大连华亿电力电器有限公司 |
| 申请人地址 | 辽宁省大连市普兰店经济开发区长店堡社区 |
专利法律状态
2015-08-19
授权
状态信息
授权
2013-12-18
实质审查的生效
状态信息
实质审查的生效IPC(主分类):H01F 38/28申请日:20101109
2011-04-06
公布
状态信息
公布
摘要
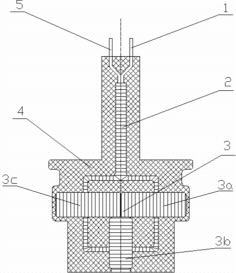
本发明涉及变电领域,具体的说是涉及一种小型电流互感器。一种小型电流互感器,包含P2接线端子、一次线圈、二次线圈、P1接线端子和嵌件。所述的小型电流互感器的P1接线端子焊接U型过渡板连接一次线圈,一次线圈穿过二次线圈,符合穿心匝数后,焊接在P2接线端子上;二次线圈为圆环状结构,三个二次线圈呈品字型排布,其中右二次线圈和左二次线圈水平放置,下二次线圈与右二次线圈和左二次线圈相互垂直放置;二次线圈是由漆包线均匀缠绕在铁芯上构成的,二次线圈的出线根据极性分别焊接在嵌件上并根据绕组数量及变比情况,确定二次出线端子标识;电流互感器内部一次全封闭浇注环氧树脂。


