授权公布号:CN215085660U
一种制氧稳定的变压吸附制氧装置
有效
申请
2021-03-03
申请公布
1970-01-01
授权
2021-12-10
预估到期
2031-03-03
| 申请号 | CN202120462371.7 |
| 申请日 | 2021-03-03 |
| 授权公布号 | CN215085660U |
| 授权公告日 | 2021-12-10 |
| 分类号 | B01D46/10;B01D46/00;B01D53/047;C01B13/02 |
| 分类 | 一般的物理或化学的方法或装置; |
| 申请人名称 | 江苏宝联气体有限公司 |
| 申请人地址 | 江苏省苏州市相城区黄埭镇春申路1008号 |
专利法律状态
2021-12-10
授权
状态信息
授权
摘要
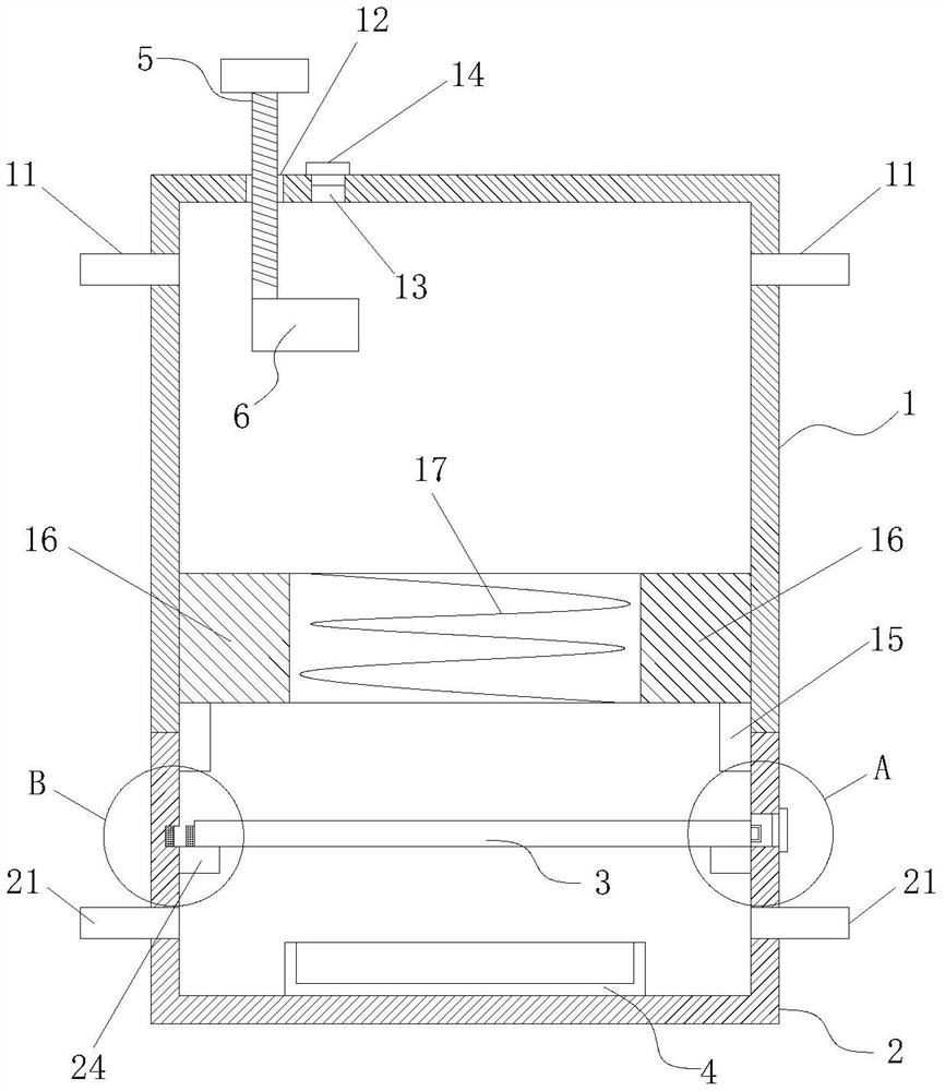
本实用新型适用于氧气制造技术领域,提供了一种制氧稳定的变压吸附制氧装置,包括第一制氧箱和可拆卸连接在其底部的第二制氧箱,所述第一制氧箱和所述第二制氧箱相连通;所述第二制氧箱外侧壁开设有连通其内腔的插口,内侧壁具有支撑环,所述支撑环上放置有可穿出所述插口的过滤板;所述第一制氧箱顶壁穿设有可上下移动的调节螺杆,所述调节螺杆底端固定连接有香气盒,所述第一制氧箱顶壁还开设有与所述香气盒竖直对应的进料口。该制氧装置的过滤装置保持良好的过滤效果,提高该制氧装置的制氧效果和稳定性,同时可以在香气盒内放置草药或香料,使得从出气管出来的氧气带有一定的香味,可以净化空气和有益人体的健康。


