授权公布号:CN218019098U
一种用于木器镶线的压条装置
有效
申请
2022-07-29
申请公布
1970-01-01
授权
2022-12-13
预估到期
2032-07-29
| 申请号 | CN202221974271.3 |
| 申请日 | 2022-07-29 |
| 授权公布号 | CN218019098U |
| 授权公告日 | 2022-12-13 |
| 分类号 | B27M3/00 |
| 分类 | 木材或类似材料的加工或保存;一般钉钉机或钉U形钉机; |
| 申请人名称 | 牡丹江和音乐器有限公司 |
| 申请人地址 | 黑龙江省牡丹江市西安区海浪路199号 |
专利法律状态
2022-12-13
授权
状态信息
授权
摘要
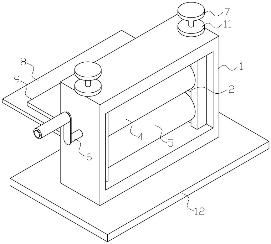
一种用于木器镶线的压条装置,包括机架(1)、碾压轮和厚度调节装置,机架(1)的两侧设有竖向滑槽(2),滑槽(2)内置有可沿其上下滑动的滑块(3),碾压轮包括平行设置的主动碾压轮(4)和被动碾压轮(5),主动碾压轮(4)两端分别可转动地固定在机架(1)两侧的滑块(3)上,主动碾压轮(4)的一侧设有摇把(6)伸出机架(1),机架(1)的两侧于滑块(3)的上方设有调节螺栓(7),调节螺栓(7)竖向可转动地固定在机架(1)上,调节螺栓(7)的下端可转动地固定在滑块(3)上,被动碾压轮(5)可转动地固定在主动碾压轮(4)的下方。具有结构简单、使用方便、易于操作、使用省时省力的优点。


