授权公布号:CN216001504U
平面口罩切片机
有效
申请
2021-08-31
申请公布
1970-01-01
授权
2022-03-11
预估到期
2031-08-31
| 申请号 | CN202122084786.8 |
| 申请日 | 2021-08-31 |
| 授权公布号 | CN216001504U |
| 授权公告日 | 2022-03-11 |
| 分类号 | B29C65/74;B29C65/78;A41H43/04;A41D13/11;B29L31/48N |
| 分类 | 塑料的加工;一般处于塑性状态物质的加工; |
| 申请人名称 | 青岛酷特智能股份有限公司 |
| 申请人地址 | 山东省青岛市即墨市红领大街17号 |
专利法律状态
2022-03-11
授权
状态信息
授权
摘要
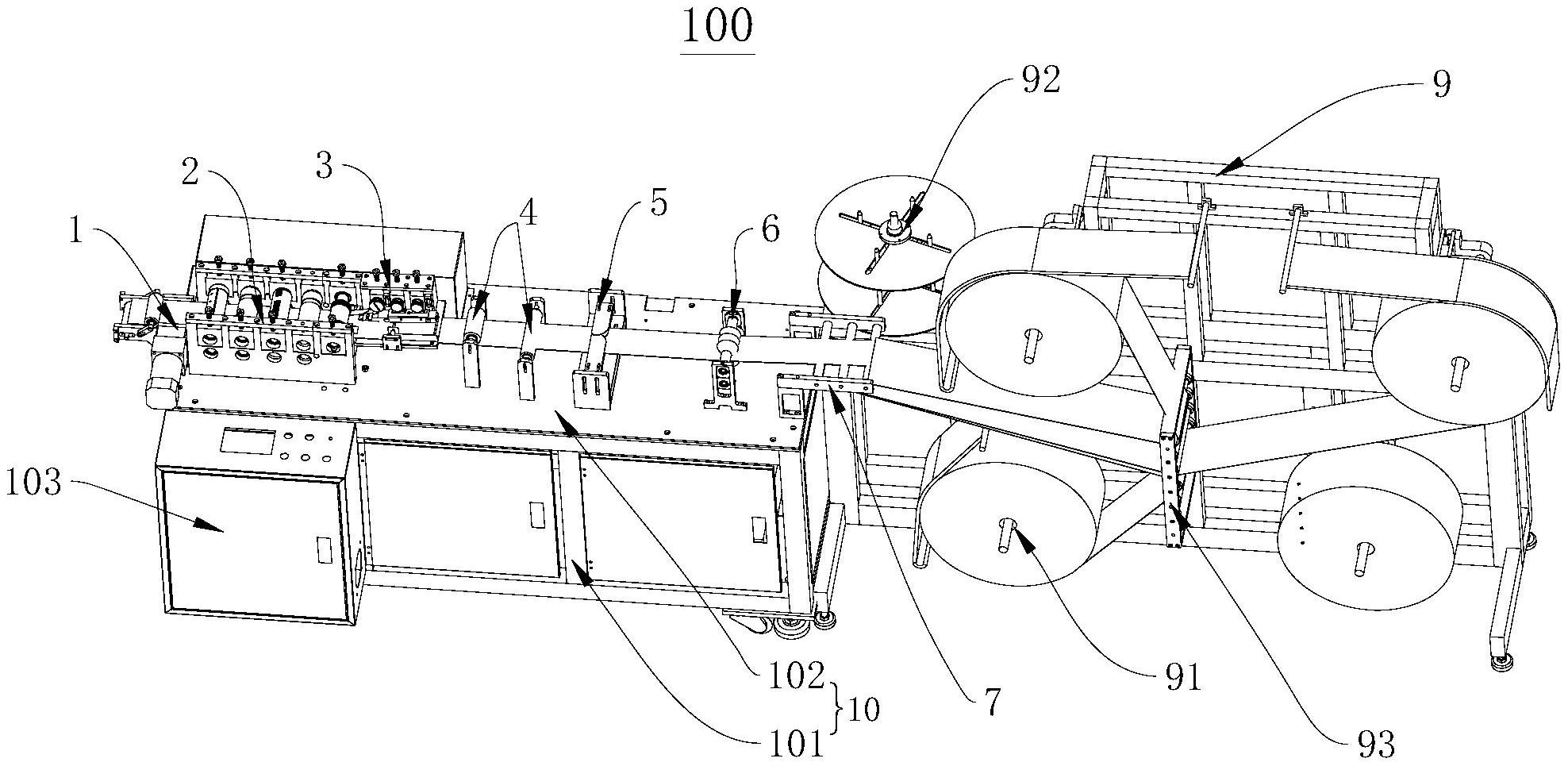
本实用新型提出一种平面口罩切片机,包括工作台,工作台上从左至右依次设置有输出装置、切片焊接装置和鼻梁条裁切输送装置;鼻梁条裁切输送装置包括切刀滚轮和拉绳滚轮,切刀滚轮上设置有切刀,切刀滚轮连接至切刀驱动机构,拉绳滚轮连接至拉绳驱动机构;切片焊接装置包括切片连接至切片驱动机构的刀辊组、连接至轧花驱动机构的短边轧花辊以及共同连接至牵引驱动机构的第一拉料辊组、第二拉料辊组和长边轧花辊,短边轧花辊和长边轧花辊的下方均设置有焊接部。本实用新型结构简单,使用方便,通过不同的驱动机构控制鼻梁条的牵引、裁切,以及布料的短边、长边轧花和切片,控制生产不同尺寸的口罩,满足不同人群的需求。


