授权公布号:CN213328818U
一种钢护栏
有效
申请
2020-07-20
申请公布
1970-01-01
授权
2021-06-01
预估到期
2030-07-20
| 申请号 | CN202021428104.X |
| 申请日 | 2020-07-20 |
| 授权公布号 | CN213328818U |
| 授权公告日 | 2021-06-01 |
| 分类号 | E01D19/10;E04H17/10;E04H17/08;E01F15/06;E04H17/02;E04H17/06 |
| 分类 | 道路、铁路或桥梁的建筑; |
| 申请人名称 | 安平县喜振金属丝网制品有限公司 |
| 申请人地址 | 河北省衡水市安平县前铺村东北1200米处 |
专利法律状态
2021-06-01
授权
状态信息
授权
摘要
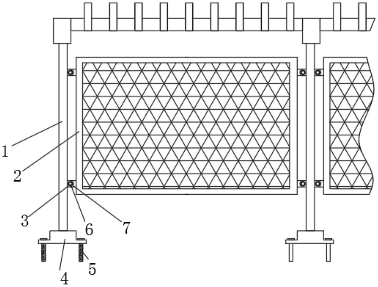
本实用新型公开了一种钢护栏,包括钢护栏和围栏网片,所述钢护栏共设置有两个,且两个钢护栏之间设置有围栏网片,所述钢护栏外表壁上焊接有第一连接件,所述围栏网片沿长度方向的两端外表壁上焊接有第二连接件,所述第一连接件和第二连接件通过固定螺栓螺栓固定,所述两个钢护栏的顶端均套接有套管,且两个套管之间焊接有横梁,所述横梁沿长度方向的两侧表壁上分别焊接有第一钢斜杆和第二钢斜杆。本实用新型中,该钢护栏,设置有钢护栏和围栏网片,围栏网片通过第二连接件、固定螺栓和第一连接件固定在立杆上,使得围栏网片为可拆卸结构,单个围栏网片损坏后,直接更换即可,无需拆卸钢护栏,使得围栏网片的更换安装十分的方便。


