授权公布号:CN212927320U
一种基坑钢护栏
有效
申请
2020-06-03
申请公布
1970-01-01
授权
2021-04-09
预估到期
2030-06-03
| 申请号 | CN202020990981.X |
| 申请日 | 2020-06-03 |
| 授权公布号 | CN212927320U |
| 授权公告日 | 2021-04-09 |
| 分类号 | E04H17/14;E04H17/22;E04G21/32;B05B13/02;B05B1/02 |
| 分类 | 建筑物; |
| 申请人名称 | 安平县喜振金属丝网制品有限公司 |
| 申请人地址 | 河北省衡水市安平县前铺村东北1200米处 |
专利法律状态
2021-04-09
授权
状态信息
授权
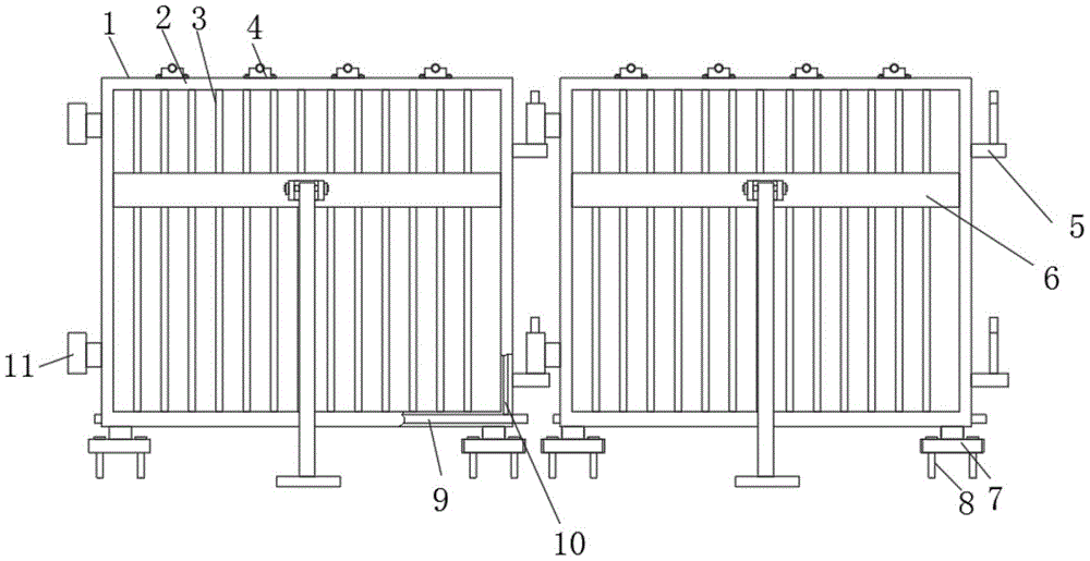
摘要
本实用新型公开了一种基坑钢护栏,包括钢护栏本体,所述钢护栏本体由矩形框架和立杆组成,所述立杆共设置有若干个,且若干个立杆等间距焊接在矩形框架的内部,所述矩形框架沿长度方向的一端外表壁上焊接有基块,且基块上表面焊接有插接轴,所述矩形框架沿长度方向的另一端外表壁上焊接有配合插接轴使用的套管。本实用新型中,该基坑钢护栏,该基坑钢护栏,设置有输水管,相邻的该基坑钢护栏之间可以通过输水管导通连接,配合雾化喷头的设置,在使用的过程中,可以将输水管连接到输水设备的排水管上,向输水管内输入水源,水源通过导管从雾化喷头喷出,可以进行降尘,有效的防止基坑施工时造成灰尘污染。


