授权公布号:CN217975921U
一种稳固牢靠的推拉门结构
有效
申请
2022-05-31
申请公布
1970-01-01
授权
2022-12-06
预估到期
2032-05-31
| 申请号 | CN202221358066.4 |
| 申请日 | 2022-05-31 |
| 授权公布号 | CN217975921U |
| 授权公告日 | 2022-12-06 |
| 分类号 | E06B3/46;E05D15/06 |
| 分类 | 一般门、窗、百叶窗或卷辊遮帘;梯子; |
| 申请人名称 | 佛山市南海派雅门窗制品有限公司 |
| 申请人地址 | 广东省佛山市南海区里水镇胜利东部生态工业园环镇北路自编9号车间之一 |
专利法律状态
2022-12-06
授权
状态信息
授权
摘要
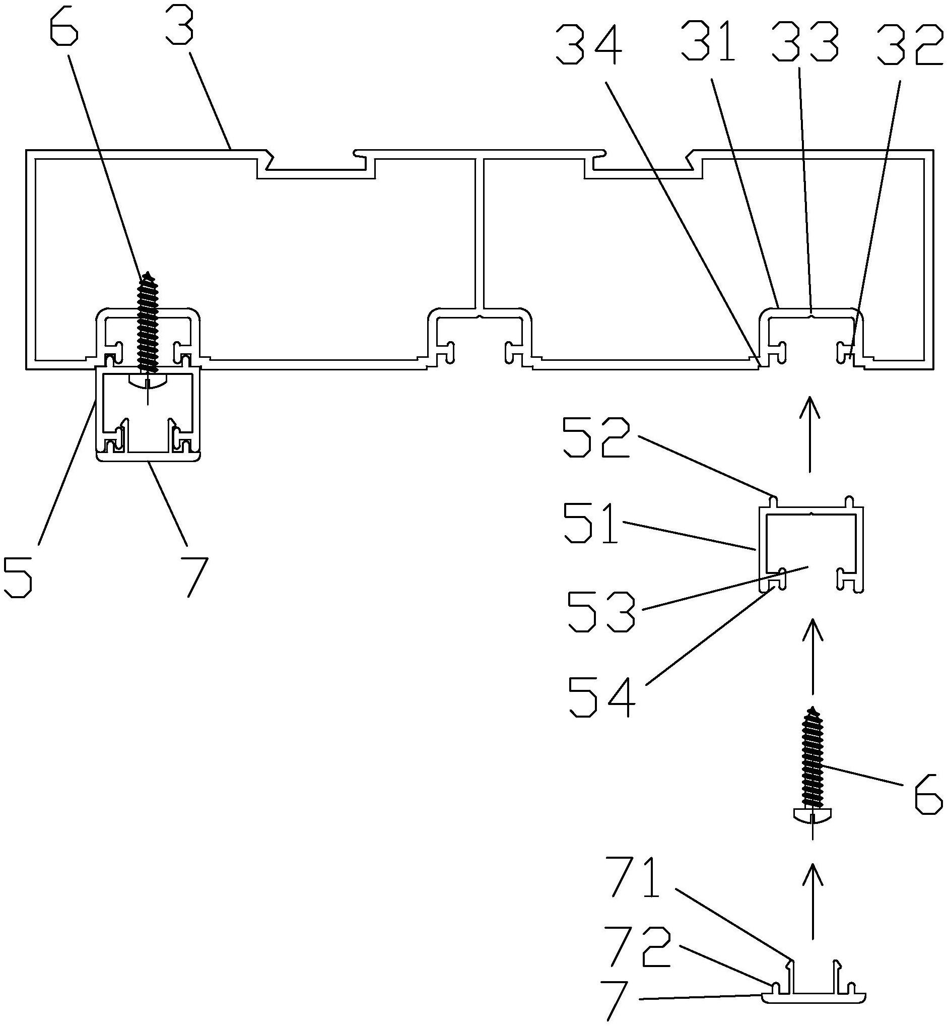
本实用新型公开了一种稳固牢靠的推拉门结构,包括底座框、门扇和顶座框,所述底座框上设有下导轨,所述门扇设有滑轮,所述顶座框上设有上导轨,所述门扇设有滑槽,所述顶座框上设有导轨安装位,所述导轨安装位包括U型加强槽、第一定位槽、紧固件连接位,所述上导轨包括U型导轨主体、第一定位凸起、开口。本实用新型的上导轨和滑槽之间不存在活动安装空间,上导轨与滑槽之间连接紧密,不仅连接稳固、牢靠,降低了脱落的风险、提高了安全性能,而且密封效果好,能够大幅度地提升隔气、隔音等效果。在安装过程中,无需先抬起门扇对准上导轨插入,只需将门扇的底部先架在下导轨上,再将门扇的顶部对准导轨安装位,就可以完成门扇的定位,降低了安装难度。


