授权公布号:CN217461855U
一种铝合金外开窗框
有效
申请
2022-05-14
申请公布
1970-01-01
授权
2022-09-20
预估到期
2032-05-14
| 申请号 | CN202221172319.9 |
| 申请日 | 2022-05-14 |
| 授权公布号 | CN217461855U |
| 授权公告日 | 2022-09-20 |
| 分类号 | E06B1/36;E06B7/16;E06B9/01;E06B7/26;E06B7/28;E06B3/263;E06B9/52 |
| 分类 | 一般门、窗、百叶窗或卷辊遮帘;梯子; |
| 申请人名称 | 佛山市南海派雅门窗制品有限公司 |
| 申请人地址 | 广东省佛山市南海区里水镇胜利东部生态工业园环镇北路自编9号车间之一 |
专利法律状态
2022-09-20
授权
状态信息
授权
摘要
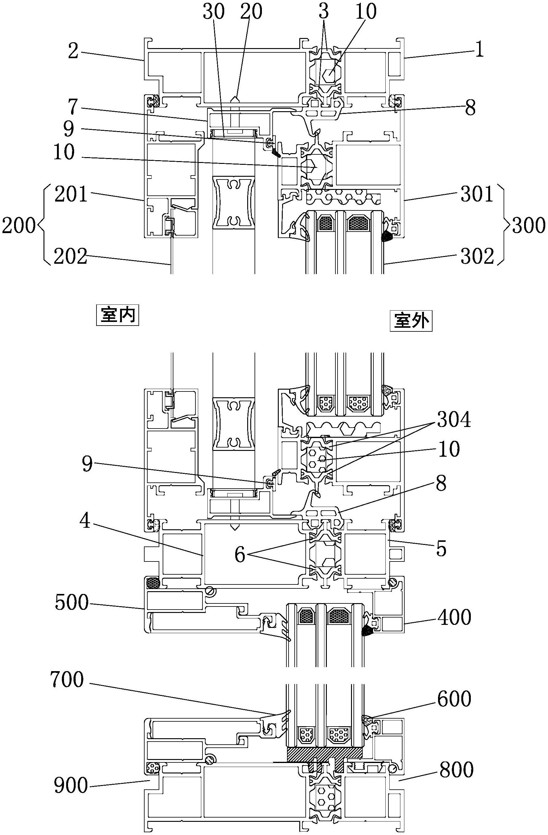
一种铝合金外开窗框,包括外框、将外框内圈分隔成第一安装区以及第二安装区的立柱组件,所述外框包括内侧窗框和外侧窗框;所述立柱组件包括内侧立柱、外侧立柱;所述内侧窗框内安装有护栏框,所述护栏框内固定有安全护栏,所述内侧窗框和外侧窗框之间、所述内侧立柱和外侧立柱之间均扣接安装有第一固定密封条;所述护栏框上设有向室外方向延伸的密封配合板,所述第一固定密封条上设有搭接在密封配合板上的配合密封部。本实用新型通过搭接在密封配合板上的配合密封部,从而防止雨水或风进入到内框体与护栏框之间、内侧立柱与护栏框之间的缝隙中,有效降低门窗出现雨水渗入或风灌入产生风哨声的几率,增强门窗的使用效果。


