授权公布号:CN219173670U
一种物流货物自动拆垛机及拆垛传送系统
有效
申请
2023-02-16
申请公布
1970-01-01
授权
2023-06-13
预估到期
2033-02-16
| 申请号 | CN202320232714.X |
| 申请日 | 2023-02-16 |
| 授权公布号 | CN219173670U |
| 授权公告日 | 2023-06-13 |
| 分类号 | B65G59/02;B65G37/02;B65G57/10 |
| 分类 | 输送;包装;贮存;搬运薄的或细丝状材料; |
| 申请人名称 | 蜜雪冰城股份有限公司 |
| 申请人地址 | 河南省郑州市金水区北三环南、文化路东瀚海北金商业中心16004室 |
专利法律状态
2023-06-13
授权
状态信息
授权
摘要
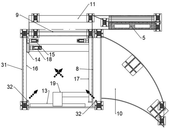
本实用新型涉及一种物流货物自动拆垛机及拆垛传送系统,自动拆垛机包括主框架,主框架上布置有货垛升降单元,货垛升降单元包括升降机构和货垛定位平台;主框架的一侧具有货物出口,另一侧具有托盘出口,货垛定位平台在具有放置位和工作位,主框架上活动装配有第一推板,主框架上还设有第一驱动机构,主框架上还活动装配有第二推板,主框架上还设有第二驱动机构,主框架上的一侧设有货物滑道,主框架的另一侧设有与所述托盘出口连通以将空托盘输送至托盘回收带上的托盘滑道。整体结构简单,控制目标明确,控制策略简洁。有效提高拆垛效率。


