授权公布号:CN218474740U
一种杀菌消毒装置
有效
申请
2022-06-16
申请公布
1970-01-01
授权
2023-02-14
预估到期
2032-06-16
| 申请号 | CN202221520931.0 |
| 申请日 | 2022-06-16 |
| 授权公布号 | CN218474740U |
| 授权公告日 | 2023-02-14 |
| 分类号 | A61L2/10;A61L2/26;A01M17/00;A61L101/10N |
| 分类 | 医学或兽医学;卫生学; |
| 申请人名称 | 雅兰实业(深圳)有限公司 |
| 申请人地址 | 广东省深圳市龙岗区沙湾丹竹头工业区 |
专利法律状态
2023-02-14
授权
状态信息
授权
摘要
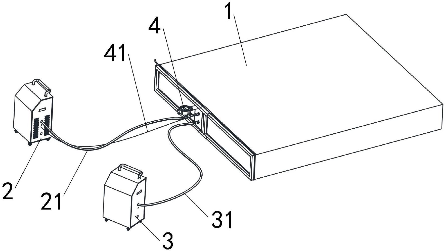
本实用新型公开了一种杀菌消毒装置,包括:密封装置,用于密封待消杀物;臭氧发生器装置,通过设置的输气管与所述密封装置可拆卸连接;臭氧尾气消除装置,通过设置的抽气管与密封装置可拆卸连接;臭氧浓度检测模块,安装于密封装置外侧,通过设置的检测线路与臭氧发生器装置或臭氧尾气消除装置连接。本实用新型采用密封装置对待消杀物进行密封,然后利用臭氧发生器装置和臭氧尾气消除装置对密封装置内部进行臭氧循环消杀,具有更高效消除待消杀物上的螨虫与细菌的优点。


